手机版

百科生活 财经

次新股有哪些股票,2019优质次新股有哪些(北交所7月上市6只次新股全线上涨)

百科 2026-02-14 18:38:00 财经 阅读:9467次

关于【次新股有哪些股票,2019优质次新股有哪些】:2019优质次新股有哪些?,今天小编给您分享一下,如果对您有所帮助别忘了关注本站哦。

  • 内容导航:
  • 1、次新股有哪些股票,2019优质次新股有哪些
  • 2、不再破发!北交所7月上市6只次新股全线上涨,这只个股遭机构“抢筹”,已较发行价大涨超八成…

1、次新股有哪些股票,2019优质次新股有哪些

2019优质次新股有哪些?“次新股”在股市中也是比较常见的,最近对股票也比较感兴趣,所以想了解一下,想问大家,2019优质次新股有哪些?知道的解答一下吧,谢谢了。

你好,按照现在的股市行情,帮你查询了一下,捷佳伟创,华致酒行,蠡湖股份等股票,望采纳。

你好,现在股市上面的2019优质次新股还是比较多的,比如长沙银行,青岛银行股票,望采纳。

天创时尚的股票是属于2019优质次新股。

2、不再破发!北交所7月上市6只次新股全线上涨,这只个股遭机构“抢筹”,已较发行价大涨超八成…

7月以来登陆北交所的6只次新股近日走出上涨行情,昨日收盘股价均高于发行价,打破了今年北交所新股惯性破发的困局。其中惠丰钻石多次被机构追捧,目前股价已较发行价大涨超过八成。

北交所加速扩容正在进行中,昨日三维股份北交所IPO战投名单出炉,今日还有3家公司上会,下周则有新芝生物上市,此外还有一批新三板公司加入北交所“预备军”。申万宏源认为,提质+扩容是今年北交所市场建设主旋律,经历上半年蛰伏蓄力,下半年新股发行有望量质双升。

次新股有哪些股票,2019优质次新股有哪些(北交所7月上市6只次新股全线上涨)

惠丰钻石4次遭机构抢筹

在昨日再度上涨1.40%之后,惠丰钻石股价已较发行价大涨82.40%,成为北交所今年股价表现最为强势的次新股。

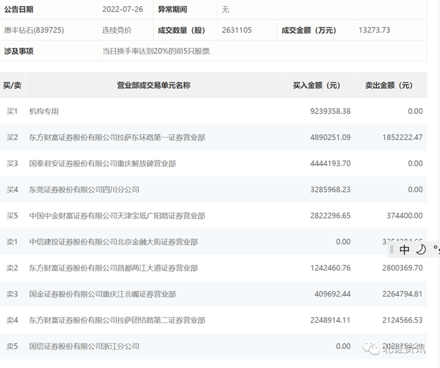
惠丰钻石自7月18日上市以来,因股价异动明显6次登上龙虎榜,其中3次有机构现身买方榜。

据北交所公开信息显示,8月3日惠丰钻石股价暴涨16.8%,换手率达20.51%,累计成交1.1亿元登上龙虎榜,其买二席位为机构,净买入287.05万元。其在上市次日即7月19日,即有机构现身买一席位,吸纳486.92万元;随后在7月21日又有机构抢筹283.04万元;7月26日再度获得机构青睐,此次出手更为大方,一举购入923.94万元。

次新股有哪些股票,2019优质次新股有哪些(北交所7月上市6只次新股全线上涨)

目前这些机构尚无出货迹象,惠丰钻石究竟有魅力,吸引这些机构积极“抢购”呢?其为专业从事人造单晶金刚石粉体的研发、生产和销售的高新技术企业,主要产品包括金刚石微粉和金刚石破碎整形料两大系列。2021 年,公司“人造单晶金刚石微粉”被国家工信部确定为第六批制造业单项冠军产品。

安信证券认为,公司专注于金刚石微分业务,2021 年公司微粉产品按产量测算的市场占有率为15.89%,行业地位突出,随着公司接近90%的扩产项目逐渐落地,凭借公司稳定的客户关系和储备,微粉市占率有望进一步增大。此外,公司成功研制出培育钻石产品,未来该业务有望顺利推进并创造新的业绩增长点。

8月2日惠丰钻石公告成功研发生产出培育钻石产品。公司表示,采用CVD技术,通过MPCVD通用设备与工艺系数改进相融合方式进行培育钻石研发与生产,在与市场上的培育钻石产品进行对比后,公司研发的培育钻石已达到可售标准,目前产品质量仍在进一步优化中。公司表示,新产品成功研发后,公司将在原有的金刚石微粉基础上延伸产业链,加快打造培育钻石规模化生产能力,提升公司综合竞争实力。未来公司将在保持微粉行业领先地位的同时,加大布局CVD金刚石在珠宝、精密刀具、半导体器件、集成电路散热、传感器及激光等高精密材料应用领域的业务,助力公司快速发展,进一步提升盈利能力。

下半年新股发行有望量质双升

事实上,除了表现出类拔萃的惠丰钻石之外,近期上市的北交所次新股均明显上涨。Wind的统计显示,7月以来登陆北交所的新股总共有6只,截至昨日收盘均已打破了惯性破发的困境。

其中,7月13日上市的科润智控目前股价已较发行价大涨24.88%,而7月22日上市的派特尔,目前股价已较发行价上扬12.50%;则成电子今天涨5.16%后,股价也已回到发行价。

次新股有哪些股票,2019优质次新股有哪些(北交所7月上市6只次新股全线上涨)

(7月份上市的北交所次新股市场表现)

当中不乏机构助力的因素。例如惠丰钻石就接连遭机构“抢购”,而7月5日上市的恒进感应则在上市一个月内,三次被机构组团调研,最近一次是7月22日-7月29日接待了开源证券、数为资产管理有限公司、粤港澳大湾区产融资产管理有限公司3家机构的调研。公司介绍,由于国内感应热处理装备起步时间较晚,在整体实力方面与国外相比还存在差距,目前市场上在高端感应淬火应用领域进口设备依然占有相当部分份额。不过随着公司技术水平的不断进步,同时公司凭借更加快捷的售后服务、灵活的柔性化定制、更具竞争力的性价比等优势,公司产品的进口替代进程将不断加速并逐步向其它多个领域扩展。

申万宏源认为,7月以来,受第二批主题基金获批注册、首个存量产品放开北交所投资比例限制等消息提振,市场交投活跃度有提升,或将打开公司与资金双升的良好局面。其认为,上半年市场风险偏好下行,成长风格出现大幅回调,目前北交所市场估值处较低水平,长期投资机会显现。

就在北交所发行上市节奏明显提速的同时,上市公司质量也备受关注。据悉,北交所正在研究的“领航计划”,目标就是要便利优质企业顺畅发展,为优质企业提供一条上市‘快车道’;更是要通过持续培育规范、重点监管,培育更多优质企业,从源头上推动提高北交所上市公司整体质量。

银河证券认为,公司本身的质地较优、经营治理较为规范的企业,以及优质的新三板挂牌企业更容易在北交所获得高效的上市速度。而公募基金投资北交所比例限制取消,推动了基金灵活开展新三板、北交所股票投资,未来其他可投新三板的存续产品可能也将陆续修改相关条款,预计未来可为北交所带来更多长期增量资金,提振交易活跃度。

申万宏源表示,6月北交所受理数量创单月新高,带动上半年受理家数跃升至130家,同时单只募资规模明显上移,进一步推高拟募资总额至413亿元。从审核效率看,北交所审核经验日趋丰富,中介机构合规意识、执业水平稳步提升,审核问询向精准、务实、减量的方向积极变化,将为下半年新股加快供给提供有益支撑,其建议打新首要关注估值性价比,可结合行业景气度与自身的成长确定性做个股优选。


来源:北证资讯

编辑:王昭丞




版权声明





证券时报各平台所有原创内容,未经书面授权,任何单位及个人不得转载。我社保留追究相关行为主体法律责任的权利。

转载与合作可联系证券时报小助理,微信ID:SecuritiesTimes


END


点击关键字可查看

潜望系列深度报道丨股事会专栏丨投资小红书丨e公司调查丨时报会客厅丨黑幕调查丨十大明星私募访谈丨解放军台海演习今日开始!联合国:继续尊重只有一个中国政策!昨夜,17天暴涨200倍“妖股”闪崩熔断丨河南一地:对全域人员赋红黄码!丨拜登:石油巨头比上帝赚得还多!巴菲特又成最大赢家?丨国台办:凡是以身试法的“台独”顽固分子,都逃脱不了国家法律的严惩丨尚乘数科要凉?股价盘中暴跌41%触发熔断, 老板深陷多个麻烦丨“台独”分子杨智渊被刑事拘传审查!丨王毅发声,华春莹也回应:反制措施该有都会有

本文关键词:2019最有潜力的次新股行业龙头,十大优质次新股,今年有什么好的次新股有哪些,2019年次新股票有哪些,2019年上市的新股有哪些。这就是关于《次新股有哪些股票,2019优质次新股有哪些(北交所7月上市6只次新股全线上涨)》的所有内容,希望对您能有所帮助!

本文链接:https://bk.89qw.com/a-187054

最近发表
网站分类