手机版

百科生活 投稿

wind万德数据库,万德数据库怎么用(万得“全球风险事件数据标准”成功发布)

百科 2026-02-15 23:01:14 投稿 阅读:5625次

关于【wind万德数据库】:万德数据库怎么用(wind数据库只能在学校用吗),今天小编给您分享一下,如果对您有所帮助别忘了关注本站哦。

  • 内容导航:
  • 1、wind万德数据库:万德数据库怎么用(wind数据库只能在学校用吗)
  • 2、万得“全球风险事件数据标准”成功发布

1、wind万德数据库:万德数据库怎么用(wind数据库只能在学校用吗)

熟练使用wind似乎是N家金融公司招聘实习生的必要条件。

财务数据库的使用在实习生的日常工作中也起着重要的作用。

“小蓝,帮我用excel实时更新贵州茅台的股价数据。”

“我对猪肉感兴趣。如何找到猪肉公司相应的财务信息?首席分析师的猪肉微信官方账号有哪些?"

“我想了解一下最近央行的退出情况,这样我就能更好地控制中国经济的现状。应该怎么破?”

“女朋友的生日快到了,我要在她面前装个‘逼’。wind如何实现API接口连接Python?”

“实习生小白如何熟练应用wind咨询金融终端?符合大老板的要求?”

在本文中,我们将逐一回答以上问题,并一起攻风技能。

(附:风动拉拉视频)

训练犬攻击--Wind的第一印象

做研究和投资,一定要分析某个轨迹。

如何找到宏观、行业、公司数据?如果有数据问题,就wind(多用于国内上市公司)

通过wind的核心功能区(左下角),可以自动选择想要了解的板块。(如银行、保险、期货、股票、债券等。)

通过搜索栏(右下角或右上角),股票、分析师姓名、股票代码以及2019年涨幅最好的股票都可以立即找到。

(这个搜索功能超级智能,比如还可以输入:2020年上市的股票/退市公司/2019年央行走势,立即获取)

我几乎想搜索一下世界上最帅的男人是不是杰克逊·易

接下来,我们来谈谈键盘上常用的按钮。现在你已经通过搜索栏找到了猪肉xx公司,但是你想知道公司的财务信息。

您可以通过特定的按钮快速切换到相应的页面。

练习生狗袭二-"白嫖"狗,拥有金融界最时尚的资讯

现在,让我们谈谈信息部分。

微博上很多baby的私信都在问,如何提升自己对全球经济趋势的认知?如何提高自己研究赛道的投资敏感度?

BLA ~这里介绍财经新闻和深度研究报告《白嫖》的方法。

不要问为什么,作为一只又穷又丑的见习狗,我最大的特点就是贫穷和固执。

新闻搜索

点击“财经新闻”按钮(图中圆圈部分)。

进入页面后,可以看到无数财经新闻。

比如在直播部分,我们只是看一般的新闻浏览(蓝色字体是重要新闻,需要我们特别注意)。

重要新闻部分查看某条新闻的详细分析。比如我们会详细分析具体的影响,或者原因等等~

宏观板块是发生在宏观板块的新闻。a股板块是a股市场的新闻。

你真聪明,其他板等等~

为研究报告

有几种方法可供你选择。

方法1:按F11(F9,或在深度数据中查找研究报告)

方法二:使用搜索引擎直接搜索(如图:顶部蓝色区域)

通过蓝色区域,可以找到相关的研究报告。(如果只是想看某券商的研究报告,比如华泰证券,可以直接点击华泰证券的超链接)

方法三:核心功能区,选择研究平台进入如下界面。输入5G等关键词。你可以找到研究报告。

也可以把综合标签改成图片标签,直接搜索5G相关研究报告的图片,然后复制~

攻击1风第一印象攻击2财务信息

实习狗贸然III-Excel插件

接下来,我们来谈谈公司常用的excel插件技巧。

比如如何实时更新excel数据库?一劳永逸,需要在excel中使用wind插件。

具体方法如下。如果你发现你的电脑没有带wind插件的宝宝,请在文末随时致电wind客服。

首先,完成下一步

选择对应的空白色单元格-wind-功能搜索-搜索相关关键词-选择对应的详细指标-输入wind股票代码-输入起止日期-确定。

最后,通过拖放,可以直接上下填充C3-C9单元格,这样就可以填充和更新所有数据(原理:单元格数据以函数形式出现,只需切换代码就可以提取另一只股票的信息)

常见问题解答QA

1.除了功能搜索,还有哪些功能?

特殊功能,但本质是一样的。点击单元格,然后风-按你想要的板块(比如时间序列-插入行情图;聚乙烯/聚丁二烯带;财务报表-损益表;多维数据-索引组件选择等。)

只有你想不到,没有风也不行这篇文章五毛钱。记得把括号里的删掉。请给我千千,买棒棒糖,风金主之父。

2.想要科创板所有股票的代码怎么办?你不能一个一个失去,是吗?

不要手输。只需按下图中的插入代码。

3.我是有钱的李,但是我的女朋友猪二花没有钱买风账户,也没有风金融终端。如何把表格发给女朋友?

保存快照。Excel工作表可以不带函数导出。

训练犬攻击4-债券

有人问,我想分析一下债券价格。

这时候我们只需要去债券-试用工具-选择相应的试用工具。

您可以更改相应的焊接代码(左上角)或一些参数,以获得计算结果

同样,类似的方法也可以应用于回购和利率互换等衍生品市场

攻击3 excel插件攻击4债券

见习狗贸然五条件选股

我们可以通过选择范围、选择指标和设置参数来选择符合要求的股票。

这个原理类似。在《青春有你》的范围内,我选择说唱作为指标,参数设置为“说唱=就像一场梦,醒了很久还是很感动;蛋黄连衣裙,蓬松的头发……”,于是,秦璐娜和李希宁这两位实习生,“出道”了!

搜索栏进入应用条件选股功能(也可以直接在搜索栏输入EQS)

首先选择一个区间(比如上证a股),选择指标(比如净利润),设置参数。您可以在屏幕右下角选择符合条件的股票。

训练犬攻击6-API接口

我们以Python为类比。

首先进入wind的代码功能区,选择具体的编程语言和相应的计算方法。

然后复制wind生成的代码,输入python系统

攻击5条件选股攻击6 API接口

风的六大实用技巧讲完了。这里有一些实用的建议:

Tip1:Wind技能学习资料和学习视频

打开我的帮助和学习文档中心。有各种各样的学习方法。此外,万德大学是一个很好的平台。

Tip2:邮件或电话客服

真的,别怕打电话。不用担心客户服务态度差。

晚上12点给客服打了电话,客服女孩超级温柔。我太爱你了,客服小姐,一个善良的美女!!

最后,最后,熟能生巧!祝你们一切顺利~

2、万得“全球风险事件数据标准”成功发布

2018年11月29日,“全球风险事件数据标准及风险管理研讨会”在万得大厦成功举办。来自银行、资管、券商、信托、中介服务等各个领域的近百名专家齐聚,共同见证万得“全球风险事件数据标准”的发布。

wind万德数据库,万德数据库怎么用(万得“全球风险事件数据标准”成功发布)

随着金融去杠杆的效果逐渐显现,各类风险事件开始频发,风险管理的监控范围已经不能仅仅满足于价格变动的传统市场风险,而需要扩展到更为广阔的泛金融风险领域。市场亟需一套统一的、全面的、精准的刻画风险事件的数据标准,来应对如今越来越剧烈、越来越频发的风险事件。

万得“全球风险事件数据标准”结合了海外先进的信用分析框架理念和国内真实的风险事件场景参数,极大地保留了所有风险事件的原始表达形式,并在此基础上进行了抽象化、数字化的处理,为中国金融投资机构提供一套可使用、可拓展、可延伸的数据库!

什么是风险事件

“风险事件”的定义的是,各类主体通过公开渠道,包括但不限于公告、官网新闻、监管部门相关通告等;或者定向公开渠道,包括但不限于微博、微信群等散布出来非正常经营活动事件。

其中包括3个关键词:主体、公开渠道、非正常经营活动

1、“主体”:每一项风险事件均归属于一个主体,这个主体目前包括:股票、债券、基金以及企业。

例如:下面这条“中联重科”(000157.SZ)控制人变化的风险事件,主体就是“中联重科”这个企业本身(不是代码000157.SZ中联重科的股票)。

wind万德数据库,万德数据库怎么用(万得“全球风险事件数据标准”成功发布)

再比如:安徽盛运环保(集团)股份有限公司发行的债券“17盛运01”违约事件,主体是“17盛运01”这只违约债券。

wind万德数据库,万德数据库怎么用(万得“全球风险事件数据标准”成功发布)

2、“公开渠道”:Wind从不扮演传播讹传的“长舌妇”,每项风险事件都不是街头巷尾的坊间传闻,均有明确、公开、官方的信息来源。

3、“非正常经营活动”:Wind从不喜欢啰嗦,钢铁厂炼钢、煤矿厂挖煤这些天经地义的事Wind不会拿出来作为风险事件,然而当钢铁厂开始从事挖煤的活计时,Wind也绝不会放过这样的“非常”经营活动(这种属于企业主体风险事件:业务变化)。

Wind全球风险事件的特点

Wind风险事件库包括了以企业、股票、债券、基金等为主体的各类风险数据,其特点一言以蔽之,即“快、全、准、稳、精”。

7X24X365 无间断挖掘采集、毫秒级快速响应、信息及时更新;

全网舆情监控、覆盖全市场多个新闻数据源,数据高完备性低遗漏率;

信息源公开权威、合法、可靠性高,避免数据引用风险;

强大的硬件和技术保障,并发处理能力强,能稳定产出数据;

实现对原始数据内容的高精度、颗粒化解析,最大程度增加数据可利用信息。

Wind全球风险事件数据标准的概述

1、事件主体的“存在性”和“唯一性”:每一项“风险事件”均归属于一个“主体”。“主体”可以为国家、行业、企业(公司)或一项金融工具如股票、债券、基金。

2、分门别类:在“主体”下设立“事件分类”以对各类“风险事件”进行合理归类。

wind万德数据库,万德数据库怎么用(万得“全球风险事件数据标准”成功发布)

上图为终端上的债券风险事件的分类及子类,鼠标点击最左边的大类可以选中所有的子类噢。

3、每一项“风险事件”包含名称、说明及正面负面及中性的方向判断。

wind万德数据库,万德数据库怎么用(万得“全球风险事件数据标准”成功发布)

4、“主体”、“事件分类”、“风险事件”均有唯一的标准化代码予以识别。这个特点体现在Wind内部的数据库中,设置唯一的标准化代码以确保事件、主体能够精确识别不产生混淆。企业是C,股票是E,债券是B,基金是F。后面4位数字表达,全市场方便统一应用。

终端展示

wind万德数据库,万德数据库怎么用(万得“全球风险事件数据标准”成功发布)

产品界面

首先向大家展示一个全局性的功能——我的自选股、我的自选债(如下图),通过添加自己关注的股票和债券,可以筛选与自选股、自选债有关联的风险事件,在准备掌握动态的同时也可不必担忧自己关注的事件被湮没在信息洪流之中。

wind万德数据库,万德数据库怎么用(万得“全球风险事件数据标准”成功发布)

1、股票风险事件

作为股票投资者或者研究员,上市公司股东减持一定是典型的“利空”事件,在Wind终端仅需几下鼠标点击就能马上掌握。

wind万德数据库,万德数据库怎么用(万得“全球风险事件数据标准”成功发布)

2、债券风险事件

下图为评级类风险事件,可以让你及时掌握债券评级负面变动情况。外部评级是目前国内信用债市场个券信用风险的风向标,Wind债券风险事件中的评级风险事件类别,囊括了评级下调、展望负面、列入评级观察名单、评级关注以及推迟或终止评级等所有源自评级机构的风险事件子类。

wind万德数据库,万德数据库怎么用(万得“全球风险事件数据标准”成功发布)

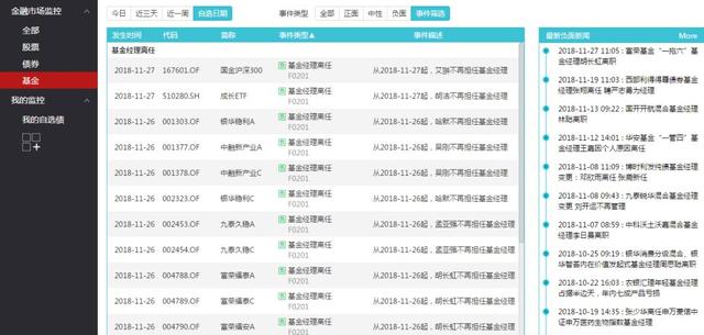
3、基金风险事件

关于基金经理的风险事件,确保您随时了解基金经理的离任和新聘情况:

wind万德数据库,万德数据库怎么用(万得“全球风险事件数据标准”成功发布)

4、企业风险事件

上市公司的对外借款和对外担保的规模始终是投资者、分析师、信评专员重点关注的问题之一。Wind风险事件配置了“大额借贷担保”事件,及时提示上市公司关于对外借款、对外担保的公告。

wind万德数据库,万德数据库怎么用(万得“全球风险事件数据标准”成功发布)

5、信贷风控

上面介绍的样例均为公开市场(股票、债券、基金),这里再单独介绍一下Wind终端“信贷风控-企业预警平台”的功能。它是Wind全球风险事件的另一个运用平台,对上市公司强制披露以外的信息和非上市公司的信息实施覆盖,挖掘其风险事件,从而增加风控维度,扫除风控盲区。

wind万德数据库,万德数据库怎么用(万得“全球风险事件数据标准”成功发布)

上图即展示了“乐视网”截至当前各类风险事件数量汇总。

有理由相信,万得“全球风险事件数据标准”的发布,将助推中国金融市场走向更成熟的发展阶段。

wind万德数据库,万德数据库怎么用(万得“全球风险事件数据标准”成功发布)

本文关键词:万德 数据库,万德数据库怎么用债券,万德数据库怎么买,万德数据库怎么使用,万德数据库有什么用。这就是关于《wind万德数据库,万德数据库怎么用(万得“全球风险事件数据标准”成功发布)》的所有内容,希望对您能有所帮助!

本文链接:https://bk.89qw.com/a-317958

最近发表
网站分类