手机版

百科生活 投稿

优质的弯曲角怎么获得,优质的弯曲角哪里得(弯曲模的设计要点及设计方法)

百科 2026-04-02 21:19:48 投稿 阅读:9807次

关于【优质的弯曲角怎么获得】:优质的弯曲角怎么获得,今天小编给您分享一下,如果对您有所帮助别忘了关注本站哦。

  • 内容导航:
  • 1、优质的弯曲角怎么获得
  • 2、「模具设计」弯曲模的设计要点及设计方法

1、优质的弯曲角怎么获得

  1、优质的弯曲角可以通过破坏上位角龙的角获得。

  2、也可以角龙相关的调查任务奖励当中均会有几率掉落。

  3、优质的弯曲角是一种比较高级素材,是部分武器进阶的素材之一,由难度较高的上位角龙破坏角部位掉落。

2、「模具设计」弯曲模的设计要点及设计方法

一、弯曲模的设计要点

弯曲模的结构与一般冲裁模很相似,也有上模和下模两部分,并由凸模、凹模、定位件、卸料件、导向件及紧固件等组成。但是,弯曲模有它自己的特点,如凸、凹模的工作部分一般都有圆角,凸、凹模除一般动作外,有时还有摆动或转动等动作。设计弯模是在确定弯曲工序的基础上进行的,为了达到制件要求,设计时必须注意的有:

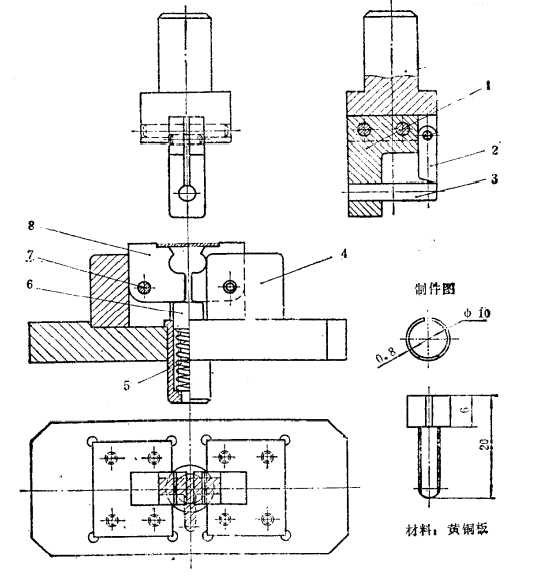
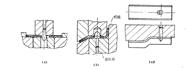
①毛坯放置在模具上应有准确的定位。首先,应尽量利用制件上的孔定位。如果制件上的孔不能利用,则应在毛坯上设计出工艺孔。图4-1所示是用导正销定位。图(a)是以毛坯的外形作粗定位,用凸模上的导正销作精定位,它适合平而厚的板料弯曲,所得制件精度好,生产率也高。对于采用外形定位有困难或制件材料较薄时,应利用装在压料板上的导正销定位,(见图b),但此时压料板与凹模之间不允许有窜动。在不得已的情况下,要使用发生变形的部位作定位时,应有不妨碍材料移动的结构(见图c)。应该说明的是,当多道工序弯曲时,各工序要有同一定位基准。

优质的弯曲角怎么获得,优质的弯曲角哪里得(弯曲模的设计要点及设计方法)

图4-1 用导正销的定位

②在压弯过程中,应防止毛坯滑动或偏移。对于外形尺寸很大的制件,毛坯的压紧装置尽可能地利用压机上的气垫。它与弹簧相比,易于获得较大的行程,且力量大,在工作中可保持恒定压力。但缺点是受所用压力机类别的限制,且会给模具的安装调整带来--些困难。当压力垫为浮动结构时,为了安全,必须防止因强大的弹力作用使某些板件飞出的危险,而应将其设计成如图4-44所示的限程装置。在弯曲小件时,可以用专用弹簧式压力垫(有时也兼作定位用)。对于上模,通常采用弹簧或橡皮压料装置。

优质的弯曲角怎么获得,优质的弯曲角哪里得(弯曲模的设计要点及设计方法)

图4-2 限程装置

③消除回弹。为了消除回弹,在冲程结束时,应使制件在模具中得到校正或在模具结构上考虑到能消除回弹的具体措施。

④要有利于安全操作,并保证制件质量。毛坯放入和压弩后从模具中取出、均应迅速方便,为尽量减少制件在压弯过程中的拉长、变薄和划伤等现象(这对于复杂的多角弯曲尤为重要),弯曲模的凹模圆角半径应光滑,凸、凹模间的间隙不宜过小y当有较大的水平测向力作用于模具零件上时,应尽量予以均衡掉。

二、常见弯曲模具结构介绍

弯曲模随弯曲件的不同,而有各种不同结构。这里主要介绍一些常见的单工序结构模具。

1.V形件弯曲模

V形件即单角弯曲件,可以用两种方法弯曲。一种是按弯角的角平分线方向弯曲,称为V形弯曲;另--种是垂直于一条边的方向弯曲,称为L型弯曲。

V形弯曲模的基本形式如图4-45所示,图中弹压顶杆是为了防止压弯时毛坯偏移而采用的压料装置。如果弯曲件的精度要求不高,压料装置可不用。这种模具结构简单,在压力机上安装和调整都很方便,对材料厚度公差要求也不严。制件在冲程末端可以得到校正,回弹较少,制件平整度较好。

优质的弯曲角怎么获得,优质的弯曲角哪里得(弯曲模的设计要点及设计方法)

图4-3 通用V形弯曲模

图4--46所示为通用V形弯曲模。这种通用模因装有定位装置和压顶件装置,而使弯曲的制件精度较--般通用弯曲模高。该模具的特点是:两块组合凹模7可配合成四种角度,并与四种不同角度的凸模相配使用,弯曲成不同角度的V形件。毛坯由定位板4定位,其定位板可以根据毛坯大小作前后、左右调整。凹模7装在模座1内由螺钉8固紧。凹模与模座的配合为J7/js6,从而保证了制件的弯曲质量和精度。制件弯曲时,先由顶杆⒉通过缓冲器使毛坯在凸模力的作用下紧紧压住,防止移动;弯曲后,还由顶杆2通过缓冲器把制件顶出。

优质的弯曲角怎么获得,优质的弯曲角哪里得(弯曲模的设计要点及设计方法)

图 4-4 L形件弯曲模

L形弯曲模用于两直边相差较大的单角弯曲件,如图4-47所示。制件面积较大的一边被夹紧在压料板与凸模之间,另-边沿凹模圆角滑动而向上弯起。压料板的压力大小可通过调整缓冲器(图中未画出)得到。对于材料较厚的制件,因压紧力不足而容易产生坯料滑移。如果在压料板上装设定位销,用毛坯上的孔定位,则可防止滑移并能得到较高精度的弯曲件(见图a)。然而,由于校正力未作用于模具所弯曲的制件直边所以有回弹现象。图(b)为带有校正作用的L形弯曲模,它由于压料板和凹模的工作面都有斜面,从而使L形制件在弯曲时倾斜一个角度,校正力作用于竖边,因此可以减少回弹。图中倾斜角α,对于厚料可取10°,薄料取5°。当工形制件的一条边很长时,可采用如图(c)所示结构。

2.U形件弯曲模

优质的弯曲角怎么获得,优质的弯曲角哪里得(弯曲模的设计要点及设计方法)

图4-5 U形件弯曲模

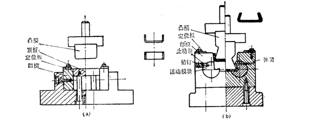
图4-5所示为U形件弯曲模。其中图(a)为一种最基本的U形件弯曲模,弯曲时压料板将毛坯压佳,次可弯两个角。只要左右凹模的圆角半径相等,毛坯在弯曲时就不会浮移。弯曲后,制件由压料板顶起。如果制件卡在凸模上,可在凸模里装设推杆或设置固定卸料装置。图(b)为用于夹角小于90°的U形件弯曲模,它的下模座里装有一对有缺口的转轴凹模,缺口与制件外形相适应。转轴的一端由于拉簧的作用而经常处于图的左半部位置,凸模具有制件内部形状,压弯时毛坯用定位板定位。凸模下降时,先将毛坏弯成90°夹角的幻形件,然后继续下压,使制件底部压向转轴凹模缺口,迫使转轴凹模向内转动,将制件弯曲成形。当凸模上升时,带动转轴凹模反转,转轴凹模上的销钉因拉簧的拉力而紧靠在止动块上,制件从垂直于图面方向取下。

优质的弯曲角怎么获得,优质的弯曲角哪里得(弯曲模的设计要点及设计方法)

图4-49为圆杆件斓形弯曲校正模。使用时,毛坯用定位块11及顶板(兼压料板)12的凹槽定位。上模下行时,先由凸模⒉与成形滑轮3将毛坯压成j形。上模继续下行,凸模﹖通过毛坯压住顶板12继续往下运动,它与滑轮架摆块5的斜面作用,使滑轮架摆块5带动成形滑轮3向中心摆动,将坯料压成△形,用以克服制件脱模后的回弹。将凹模做成滑轮,是为了减少毛坯与凹模的摩擦力,并在压弯时使坯料得到定位。凸模与圆杆件压紧部分加工成半圆槽。这种模具的特点是,滚轮凹模使用寿命长,磨损后便于维修。

3.u形件弯曲模

优质的弯曲角怎么获得,优质的弯曲角哪里得(弯曲模的设计要点及设计方法)

图4-6 U形件弯曲模示意图

如图4-50所示,对于U形件,可一次压弯成形,也可两次压弯成形。图(a)为二次弯曲成形,第一次先弯成形,第二次弯成u形。弯曲成形前,坯料出压料板压住,第二次压弯凹模的外形兼作坯料的定位作用,结构很紧凑。图(b)为一次弯曲成形的模具工作戚理,因其毛坯在弯曲过程中受到凸模和凹模圆角处的阻力,材料有拉长现象,因此弯曲件的展开长度存在较大的误差。如果把弯曲凸模改成如图(C)所示,则材料拉长现象有所改善。图(d)为将两个简单模复合在一起的弯曲模,它主要由上模部分的凸凹模4、下模部分的固定凹模2与活动凸模1组成。弯曲时,毛坯由定位板3定位,凸、凹模4下行,先弯成U形,继续下行与活动凸模1作用,将毛坯弯成U形。

这种结构需要在凹模下腔有足够大的空间,以便在弯曲过程中制件侧边的摆动。图(C)为采用摆动式的凹模结构,其两块凹模可各自绕轴转动,不工作时缓冲器通过顶杆将摆动凹模顶起。

4.Z形件弯曲模

优质的弯曲角怎么获得,优质的弯曲角哪里得(弯曲模的设计要点及设计方法)

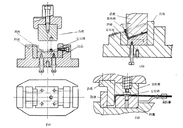
Z形件因两条直边的弯曲方向相反,所以弯曲模必须有两个方向的弯曲动作,如图4-51所示。其中图( a)所示的弯曲模,冲压前利用毛坯上的孔和毛坯的一顶端面,由定位销对毛坯定位。由于橡皮7的弹力,使压块3与凸模2的端面齐平,或压块3略高一点。冲压时,压块3与顶块5将毛坯夹紧。由于托板6上橡皮7的弹力大于顶块5上缓冲器的弹力,毛坯随凸模⒉和压块3下行,顶块5下移,先使毛坯的左端弯曲。当顶块5与下模座4接触时,托板6上的橡皮7压缩,使凸模⒉相对压块3下降,将毛坯的右端弯曲成形。当限位块8与上模座1相碰时,整个制件得到校正。这种弯曲模动作称为双向弯曲。图( b)所示结构与图(a)相似,不同处只是将制件倾斜约20°~30°。

此结构适宜冲制折弯边较长的制件,冲压终了时制件受到校正作用,回弹较小。图(c)所示Z形件弯曲模用于弯曲直边较短的薄料制件,其定位板3为整体式,上凸模⒉铆接在固定板6 .上,上凸模1和下凸模4的非工作端设有弹压装置,压弯过程中毛坯始终被压紧,不会滑移,制件弯曲精度较高。

5.弯圆模

优质的弯曲角怎么获得,优质的弯曲角哪里得(弯曲模的设计要点及设计方法)

弯圆成形一般有三种方法。第一种方法是把毛坯先弯成U形,然后再弯成○形,这种模具结构比较简单,如图4-52所示。如果制件圆度不好,可以将制件套在芯模上,旋转芯模连续冲压几次进行整形。这种方法适用于弯101nm以下的薄料小圆。如果是厚料,且对圆度的要求较高,可用三道工序进行弯曲。图4-53所示是第二种弯圆方法,先把毛坯弯成波浪形或两头有一定圆孤形(见图a、b),然后弯成〇形,这种方法一般用于直径≥$40mm的圆环。

优质的弯曲角怎么获得,优质的弯曲角哪里得(弯曲模的设计要点及设计方法)

图4-53 圆管弯曲模

优质的弯曲角怎么获得,优质的弯曲角哪里得(弯曲模的设计要点及设计方法)

图4-54 一次弯成的弯圆模

其模具结构见图(C),波浪形状由中心角120°的三等分圆弧组成。首次弯曲的波浪部分的形状尺寸,必须经试验修正。末次弩曲后,可推开支撑,将制件从凸模上取下。材料很薄、冲压力不大时,支撑可以不用。第三种弯圆方法是采用摆动式凹模一次弯成,此法一般用于直径10~40mm、材料厚度为1mm左右的圆环。其模具结构如图4-54所示,一对活动凹模8安装在座架4中,它能绕轴销7转动。在非工作状态时,由于弹簧5作用于顶柱6 ,两块活动凹模处于张开位置。模柄体1上固定凸模3。工作时,毛坯放置在凹模上定位,凸模下行,把毛坯弯成U形。凸模继续下压,毛坯压入凹模底部,迫使活动凹模绕轴7转动,压弯成〇形件。支撑⒉2对凸模3起稳定加强作用,它可绕轴1旋转,从而可将制件从凸模3上取下。

6..饺链弯曲模

优质的弯曲角怎么获得,优质的弯曲角哪里得(弯曲模的设计要点及设计方法)

图4-55 端部顶弯成形及凸、凹模成形尺寸

饺链件弯曲成形,通常是将毛坯头部先预弯曲成图4-55中(a)所示形状,然后卷圆。在预弯工序中,弯曲的端部aα =75°~80°的圆弧量一般不易成形,故将凹模的圆弧中心向里偏移△值,使其局部材料挤压成形,便于卷圆。其凸、凹模成形尺寸见图( b ),偏移量△值见表4-21。图4-56中的(a)为饺链预弯模,饺链卷圆的一般方法是:当r/t =0.5~2.2、卷圆质量要求不高时,可在预弯后一次卷圆成形(见图b )。对于短而材料厚度较厚的饺链,

表4-21偏移量▲值

优质的弯曲角怎么获得,优质的弯曲角哪里得(弯曲模的设计要点及设计方法)

优质的弯曲角怎么获得,优质的弯曲角哪里得(弯曲模的设计要点及设计方法)

图4-56 铰链件弯曲模

最好选用直立式弯曲模结构,以便于卷圆成形和模具制造。当r/t>0,5且卷圆质量要求较高时,在预弯后再取二道工序卷圆,如图4-57所示。当r/t≥4且卷圆内径又有公差要求时,在预弯后可采用芯棒一次卷圆成形。

优质的弯曲角怎么获得,优质的弯曲角哪里得(弯曲模的设计要点及设计方法)

图4-57 双边铰链弯曲模示意图

饺链卷圆件的回弹随r/t比值而增加,故卷圆凹模尺寸应比饺链外径小0.2~0.5rnm。

7.螺旋弯曲模

优质的弯曲角怎么获得,优质的弯曲角哪里得(弯曲模的设计要点及设计方法)

优质的弯曲角怎么获得,优质的弯曲角哪里得(弯曲模的设计要点及设计方法)

用螺旋弯曲模可制造各种形状的杆形件,如图4-58所示。螺旋弯曲的工作原理如图4-59所示,旋弯凸模1装于上模,随压机滑块上下运动。工作面直径d,相当于制件内径,凸模下端的直径差d-d =2d,恰好是杆件直径的2倍。凹模⒉装于下模,固定不动,其工作面A具有螺旋形。模具在压力机滑块下降时,由凸模1迫使杆件3沿螺旋工作面滑动,并在凸模上旋弯,弯曲成形后制件从凹模下部孔中推出。凹模工作部分的尺寸确定,见表4-22。凹模的螺旋升角α是旋弯凹模的主要参数,选择适当则易于弯曲成形:反之,成形困难,且造成废品。一般取α =50°~70°为宜。α的大小直接影响四模的高度,α愈大凹模愈高。所以,在确定α大小与凹模高度时,应考虑压力机行程及其

表4-22凹模工作部分的尺寸

优质的弯曲角怎么获得,优质的弯曲角哪里得(弯曲模的设计要点及设计方法)

开启高度等情况,否则会出现模具无法在压力机上使用的现象。凸模工作部分尺寸的确定见表4-23。

表4-23凸模工作部分的尺寸

优质的弯曲角怎么获得,优质的弯曲角哪里得(弯曲模的设计要点及设计方法)

优质的弯曲角怎么获得,优质的弯曲角哪里得(弯曲模的设计要点及设计方法)

图4-60 减低螺旋高度的方法

设计螺旋弯曲模时,如果弯曲模螺旋面高度大于压力机行程,则必须缩短螺旋面高度,此时应将杆材支承面,即凸模上的台肩做成与水平面成β角,使螺旋升角α'减小一个β值,见图4~60。即

α'= α - B

这时应重新计算凸模和凹模工作部分成形尺寸:

d= Dcos8

式中,d为凸模工作部分直径((mm) ,D为制件内径(mm)。

优质的弯曲角怎么获得,优质的弯曲角哪里得(弯曲模的设计要点及设计方法)

图4-61所示为搭扣螺旋弯模,材料从钢套5进入凹模,以另一头钢套作定位。当弯模的上部下行时,凸模3由导板-2导向进·入凹模1的工作孔内,以防止被切刀4所切下来的坯料脱落。切下的坯料沿凹模1的左右工作面滑动旋弯,此时制件即被旋绕在凸模3上。弯成的制件由凹模1的底孔中漏出。应当指出,考虑用左右两把切刀4,是为了使切断后的杆件最初在工作面滑动时可以保持平衡。导板2对于弯曲直径粗的材料,可以起到使凸模稳定以防止在工作时产生偏移的重要作用。

8。其它弯曲模

优质的弯曲角怎么获得,优质的弯曲角哪里得(弯曲模的设计要点及设计方法)

由于制件的形状、尺寸和精度的要求各不相同,因而弯曲模的结构也有多种多样。图4-62所示为摇板弯模,它适用于弯制[形类制件。工作时,用钳子将毛坯放入凹模4的凹槽内,并放入芯模5。当上模下行时,凸模1压两边的摇板2的端部,使摇板2向下旋转,将毛坯压弯成形。上模回升时,摇板2在拉簧3的作用下复位,取出芯模5,即可卸下制件。

优质的弯曲角怎么获得,优质的弯曲角哪里得(弯曲模的设计要点及设计方法)

图4-63为带滑轮摆动凸模的弯模。它适用于压线卡类制件的弯曲。工作时,用锤子将毛坯放在凹模上,由活动定位销3定位。上模下行时,压板将毛坯压紧。上模继续下行,压板7压缩弹簧,滑轮⒉,连接板8沿凹模6的斜槽面运动,将毛坯压弯成形。上模回升后,制件留在凹模上,拉出推板4,使定位销3下降,制件从图形的纵向取出。图4-64所示为卷圆、弯曲一次成形模及其工作过程。工作时,将毛坯推入定位板3和芯模7之间定位。

当上模下行时,卷圆凸模1先接触毛坯并在芯模7之间弯曲成U形(见图b中Ⅰ)。当上模继续下行时,螺钉6的端面接触滑块座⒉上平面,并推着向下运动,使U形件的端部靠凹模镶件8向上弯曲成形(见图b中Ⅱ)。滑块座2的活动量通过调节螺母5控制螺钉6的长度实现。滑块座⒉继续下行,使U形件在凹模4中弯曲成O形(见图b中Ⅲ)。上滑模回升,顶杆9将滑块座⒉复位,芯模上的制件即可取出(见图b中Ⅳ)。这种模具的主要特点是,芯模7固定在滑块座2上,当卷圆凸模将毛坯在芯模上弯成U形时,凸模1不再对芯模加压力,而是螺钉6推动滑块座2向下运动继续成形,从而可防止芯模受很大的压力而折断。

优质的弯曲角怎么获得,优质的弯曲角哪里得(弯曲模的设计要点及设计方法)

图4-64 卷圆弯曲一次成形模

优质的弯曲角怎么获得,优质的弯曲角哪里得(弯曲模的设计要点及设计方法)

图4-65内斜楔弯模

图4-65所示为带有内斜楔的弯模,此结构适用于弯制各种弹簧夹,其料厚为1mm以内。工作时将毛坯放在压板15上,由定位板16定位。当上模下行时,凸模17通过压板15先将毛坯压弯成U形,并进入两件成形滑块14的中间。上模继续下行,压柱4压住成形滑块14向下运动,并沿基座11的斜面向中心收缩,将制件挤压成形。上模上行时,托板12在弹簧8的作用下向上顶起,使两成形滑块14张开,包在凸模17上的制件从纵向推出。

优质的弯曲角怎么获得,优质的弯曲角哪里得(弯曲模的设计要点及设计方法)

图4-66 外斜楔弯模

图4-66所示为带外斜楔的弯模。工作时,利用毛坯上2--p2.2孔套在模具的定位销10上定位。当上模下行时,凸模3先压住料,并在顶柱6和凹模9的作用下将毛坯初压成一形。上填继续下行,斜楔11压着滑块4向中心运动,此时弯曲两端弯脚,凸模3、凹模9把制件压得更紧,使制件完全成形。

图4-67为卡脚多工序一次成形弯模。工作时,毛坯用凸模19端面和定位板5定位。上模下行时,先由凸凹模21,凸模9和顶板18将毛坯压成_[.门.形。上模继续下行,再由凸凹模21与凹模6将毛坯两端弯起,使制件全部成形。本模具的特点是,橡皮的弹力必须大于毛坯压成几形时的弯力,而且要求压力机有足够的行程。

本文关键词:优质的弯曲角一直不掉,优质的弯曲角必须的捕获吗,优质的弯曲角,弯曲角和优质的弯曲角,优质的弯曲角怎么获得崛起。这就是关于《优质的弯曲角怎么获得,优质的弯曲角哪里得(弯曲模的设计要点及设计方法)》的所有内容,希望对您能有所帮助!

本文链接:https://bk.89qw.com/a-522039

最近发表
网站分类