手机版

百科生活 投稿

液压安全又叫什么阀,液压有什么阀(控制阀的分类和工作原理)

百科 2026-02-05 01:31:42 投稿 阅读:6367次

关于【液压安全又叫什么阀】:液压安全又叫什么阀,今天涌涌小编给您分享一下,如果对您有所帮助别忘了关注本站哦。

  • 内容导航:
  • 1、液压安全又叫什么阀
  • 2、机械传动基础知识,控制阀的分类和工作原理,控制阀又称液压阀

1、液压安全又叫什么阀

  1、液压安全又叫液压安全阀。

  2、液压安全阀是装设在油罐顶上,保护油罐安全的一个重要附件。当机械呼吸阀发生故障时,液压安全阀就能代替机械呼吸阀进行排气或放气。

  3、液压安全阀控制的压力或真空值比机械呼吸阀高10%,因此在正常情况下是不会动作的。阀内用沸点高(夏天不易挥发)、蒸发慢、凝点低(冬天不至于凝固)的油品(如轻柴油、太阳油或变压器油)作为密封液体(简称封液)。本类阀门在管道中一般应当水平安装。

  4、液压安全阀一种安全保护用阀,它的启闭件受外力作用下处于常闭状态,当设备或管道内的介质压力升高,超过规定值时自动开启,通过向系统外排放介质来防止管道或设备内介质压力超过规定数值。安全阀属于自动阀类,主要用于锅炉、压力容器和管道上,控制压力不超过规定值,对人身安全和设备运行起重要保护作用。 按安全阀阀瓣开启高度可分为微启式安全阀和全启式安全阀,微启式安全阀的开启行程高度为:≤0.05d0(最小排放喉部口径);全启式安全阀开启高度为≤0.25d0(最小排放喉部口径)。

2、机械传动基础知识,控制阀的分类和工作原理,控制阀又称液压阀

控制阀——为了控制与调节液流的方向、压力和流量,以满足工作机械的各种要求,就要用到控制阀。控制阀又称液压阀,简称阀。

一、方向控制阀

控制油液流动方向的阀。

液压安全又叫什么阀,液压有什么阀(控制阀的分类和工作原理)

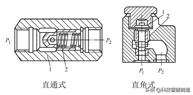
1.单向阀

作用:保证通过阀的液流只向一个方向流动而不能反方向流动。

液压安全又叫什么阀,液压有什么阀(控制阀的分类和工作原理)

压力油从进油口 p1 流入,从出油口 p2 流出。反向时,因油口 p2 一侧的压力油将阀芯紧压在阀体上,使阀口关闭,油流不能流动。

液压安全又叫什么阀,液压有什么阀(控制阀的分类和工作原理)

液控单向阀:

液压安全又叫什么阀,液压有什么阀(控制阀的分类和工作原理)

2.换向阀

换向阀的结构和工作原理

液压安全又叫什么阀,液压有什么阀(控制阀的分类和工作原理)

换向阀的分类 :

按阀芯在阀体上的工作位置数和换向阀所控制的油口通路数分,换向阀有二位二通、二位三通、二位四通、二位五通、三位四通、三位五通等类型。

不同的位数和通数,是由阀体上不同的沉割槽和阀芯上台肩组合形成的。

换向阀的符号表示 :

一个换向阀的完整符号应具有工作位置数、通口数和在各工作位置上阀口的连通关系、控制方法以及复位、定位方法等。

液压安全又叫什么阀,液压有什么阀(控制阀的分类和工作原理)

位:指阀与阀的切换工作位置数,用方格表示。

液压安全又叫什么阀,液压有什么阀(控制阀的分类和工作原理)

位与通:“通”指阀的通路口数,即箭头“↑”或封闭符号 “⊥”与方格的交点数。

三位阀的中格、两位阀画有弹簧的一格为阀的常态位。常态位应绘出外部连接油口(格外短竖线)的方格 。

液压安全又叫什么阀,液压有什么阀(控制阀的分类和工作原理)

液压安全又叫什么阀,液压有什么阀(控制阀的分类和工作原理)

液压安全又叫什么阀,液压有什么阀(控制阀的分类和工作原理)

三位换向阀的中位机能 :

三位换向阀的阀芯在阀体中有左、中、右三个工作位置。中间位置可利用不同形状及尺寸的阀芯结构,得到多种不同的油口连接方式。三位换向阀在常态位置(中位)时各油口的连通方式称为中位机能。

液压安全又叫什么阀,液压有什么阀(控制阀的分类和工作原理)

液压安全又叫什么阀,液压有什么阀(控制阀的分类和工作原理)

液压安全又叫什么阀,液压有什么阀(控制阀的分类和工作原理)

液压安全又叫什么阀,液压有什么阀(控制阀的分类和工作原理)

液压安全又叫什么阀,液压有什么阀(控制阀的分类和工作原理)

二、压力控制阀

用来控制液压系统中的压力,或利用系统中的压力变化来控制其他液压元件的动作,简称压力阀。

工作原理:利用作用于阀芯上液压力与弹簧力相平衡的原理。

1.溢流阀

作用:溢流和稳压作用,保持液压系统的压力恒定;限压保护作用,防止液压系统过载

(1)直动式溢流阀

液压安全又叫什么阀,液压有什么阀(控制阀的分类和工作原理)

(2)先导式溢流阀

液压安全又叫什么阀,液压有什么阀(控制阀的分类和工作原理)

2.减压阀

作用:降低系统某一支路的油液压力,使同一系统有两个或多个不同压力。

减压原理:利用压力油通过缝隙(液阻)降压,使出口压力低于进口压力,并保持出口压力为一定值。缝隙越小,压力损失越大,减压作用就越强。

(1)直动型减压阀

液压安全又叫什么阀,液压有什么阀(控制阀的分类和工作原理)

(2)先导式减压阀

液压安全又叫什么阀,液压有什么阀(控制阀的分类和工作原理)

3.顺序阀

作用:利用液压系统中的压力变化来控制油路的通断,从而实现某些液压元件按一定的顺序动作。

分类:

液压安全又叫什么阀,液压有什么阀(控制阀的分类和工作原理)

(1)直动型顺序阀

液压安全又叫什么阀,液压有什么阀(控制阀的分类和工作原理)

(2)先导型顺序阀

液压安全又叫什么阀,液压有什么阀(控制阀的分类和工作原理)

4.压力继电器

一种将液压信号转变为电信号的转换元件。当控制流体压力达到调定值时,它能自动接通或断开有关电路,使相应的电气元件(如电磁铁、中间继电器等)动作,以实现系统的预定程序及安全保护。

一般压力继电器都是通过压力和位移的转换使微动开关动作,借以实现其控制功能。

常用的压力继电器有柱塞式、膜片式、弹簧管式和波纹管式等,其中以柱塞式最为常用。

液压柱塞式压力继电器:

液压安全又叫什么阀,液压有什么阀(控制阀的分类和工作原理)

三、流量控制阀

作用:控制液压系统中液体的流量,简称流量阀。

原理:流量阀是通过改变阀口过流截面积来调节通过阀口的流量,从而控制执行元件运动速度的控制阀。

1.节流阀

液压安全又叫什么阀,液压有什么阀(控制阀的分类和工作原理)

节流阀常用节流口形式

液压安全又叫什么阀,液压有什么阀(控制阀的分类和工作原理)

2.调速阀:由减压阀和节流阀串联而成的组合阀。

本文关键词:液压安全阀的作用是什么,液压各个阀的作用,液压系统的安全阀,液压阀是液压系统中的什么元件,液压安全阀的作用。这就是关于《液压安全又叫什么阀,液压有什么阀(控制阀的分类和工作原理)》的所有内容,希望对您能有所帮助!

本文链接:https://bk.89qw.com/a-554463

最近发表
网站分类