手机版

百科生活 投稿

贵州医科大学排名,贵州的医科大学排名2022最新排名(2021年医学类大学在贵州招生录取情况)

百科 2026-02-14 17:11:01 投稿 阅读:1589次

关于【贵州医科大学排名】,贵州的医科大学排名2022最新排名,今天涌涌小编给您分享一下,如果对您有所帮助别忘了关注本站哦。

  • 内容导航:
  • 1、2021年医学类大学在贵州招生录取情况
  • 2、贵州医科大学排名:贵州的医科大学排名2022最新排名

1、2021年医学类大学在贵州招生录取情况

2021年医学类大学在贵州招生录取情况(本科一批

贵州医科大学排名,贵州的医科大学排名2022最新排名(2021年医学类大学在贵州招生录取情况)

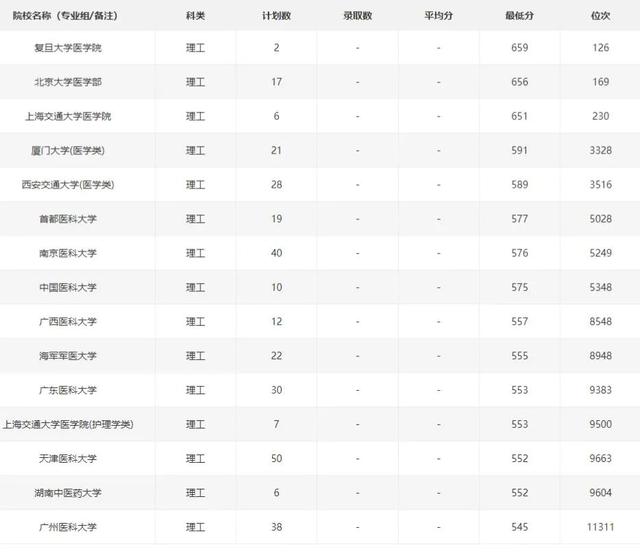
复旦、北大、上交大排在第1集团,最低位次在全省300名之内。

厦门大学和西交大排在第2集团,最低排名全省3000多名。

首都医科大学,南京医科大学,中国医科大学排在第3集团,全省最低位次5000多名。

第4集团的广西医科大学、海军军医大学、广东军医大学、上交大的护理学类、天津医科大学、湖南中医药大学等最近录取位次在8000到1万名之间。

贵州医科大学排名,贵州的医科大学排名2022最新排名(2021年医学类大学在贵州招生录取情况)

广州医科大学、成都中医药大学、徐州医科大学、南京中医药大学、广州中医药大学、西南医科大学、浙江中医药大学、宁夏医科大学等最低录取位次在15,000名之内。

贵州医科大学排名,贵州的医科大学排名2022最新排名(2021年医学类大学在贵州招生录取情况)

上海中医药大学、重庆医科大学、江西中医药大学等最低录取位次在2万到23,000名左右。

陆军军医大学、甘肃中医药大学、哈尔滨医科大学、山西医科大学等最低录取位次在29,000名之内。

贵州医科大学排名,贵州的医科大学排名2022最新排名(2021年医学类大学在贵州招生录取情况)

贵州医科大学排名,贵州的医科大学排名2022最新排名(2021年医学类大学在贵州招生录取情况)

温州医科大学、大连医科大学、北京中医药大学、福建医科大学、长春中医药大学等最低录取位次在33,000名之内。

海南医学院、遵义医科大学珠海校区、贵州医科大学等最低录取位次在40,000名之内。

黑龙江中医药大学、天津中医药大学、遵义医科大学、贵州中医药大学、南方医科大学等全省最低录取位次在10万名之后。

2、贵州医科大学排名:贵州的医科大学排名2022最新排名

2022年贵州医科大学排名已经公布,每年最好的医科大学基本都是哪几所,其中贵州最好的医科大学有贵州医科大学、贵阳中医学院、遵义医学院。下面是小编为大家整理的贵州的医科大学排名2022最新排名 贵州医科类大学排名内容,以供参考,一起来看看!

贵州医科大学最新排行榜

贵州最好的医科大学一共有3所,具体排名数据如下,仅供参考。

1.贵州医科大学

2.贵阳中医学院

3.遵义医学院

点击:医科大学排名及分数线

贵州医科大学介绍

贵州医科大学:截至2015年04月,学校有2个校区,占地面积1800余亩,在校全日制学生14000余人,研究生1600余人。教学科研仪器设备总值2亿余元,图书馆藏书 121万册,数字图书 4952GB。设有20个教学单位,27个本科专业,涵盖医学、理学、社会学科、文学、工学、管理学等六大学科门类。在职职工1400余人,其中具有博士学位250余人,正高职称220余人、副高380余人。

贵阳中医学院:根据2017年2月学校官网显示,该校有南校区、北校区和花溪新校区3个校区,占地1785亩。其中花溪新校区占地面积1501.5亩,省发改委批复建设面积59.08万平方米,规划容纳学生1.7万人,工程总投资17.171亿元。设有14个二级学院和教学部,开办18个本科专业,有教职工760名,在校生10676人,其中硕士研究生823人、本科生9534人。

遵义医学院:学校前身为大连医学院,是中国共产党创办的第一所本科医学院校。1969年为支援“三线”建设,经国务院决定,举院南迁至遵义,更名为遵义医学院,是全国唯一一所坚持扎根革命老区没有回迁的本科院校。根据2016年4月学校官网显示,学校由校本部和珠海校区组成,占地面积3000余亩,建筑面积40万余平方米。涵盖6个学科门类,包含32个本科专业及专业方向,拥有全日制在校生15000多人。

本文关键词:贵州医科大学全国排名多少位,贵州医科大学大学排名,贵州所有医科大学排名,贵州医科大学的排名是多少,贵州医科大学排多少名。这就是关于《贵州医科大学排名,贵州的医科大学排名2022最新排名(2021年医学类大学在贵州招生录取情况)》的所有内容,希望对您能有所帮助!

本文链接:https://bk.89qw.com/a-562937

最近发表
网站分类