手机版

百科生活 投稿

湖北科技学院是一本还是二本,湖北科技学院是几本大学(一所医学院校与一所师范院校合并)

百科 2025-10-22 10:07:23 投稿 阅读:9032次

关于【湖北科技学院是一本还是二本】,湖北科技学院是几本大学,今天小编给您分享一下,如果对您有所帮助别忘了关注本站哦。

  • 内容导航:
  • 1、一所医学院校与一所师范院校合并,摇身一变成为科技学院,很神奇
  • 2、湖北科技学院是一本还是二本:湖北科技学院是几本大学?一本还是二本

1、一所医学院校与一所师范院校合并,摇身一变成为科技学院,很神奇

大学的品牌是和校名是息息相关的,有些学校通过更名,瞬间鸟枪换大炮,带来无限的发展机遇,比如南京财经大学、河南财经政法大学。有些高校对改名不是很“走心”,好不容易有一个改名的机会,最终是草草了事,简直是大学中的一股清流,比如东华大学、长安大学、江南大学。有些学校更名后,又不得不改回来,因此万不得已要改校名也要慎重。就像滨州医学院即便把主校区从滨州搬迁到了烟台,还是保持校名不改,因为舍不得放弃滨州医学院的品牌知名度。

今天给大家介绍一所坐落于素有温泉之都咸宁市的一所高校,同时也是我国第一批卓越医生教育培养计划项目试点高校,并在2011年更名成功,它就是湖北科技学院。说起这所学校的更名,在当时引起了不小的讨论。湖北科技学院原来是由一所医学院校和一所师范院校合并而成,取名咸宁学院,后来的一波操作着实令人费解:“科技”一词,似乎与医学、师范并不搭。但校名的更改,让学校却得到了实在的好处:分数线的持续上涨。

湖北科技学院是一本还是二本,湖北科技学院是几本大学(一所医学院校与一所师范院校合并)

1 学校的历史前沿

湖北科技学院是由咸宁医学院、咸宁师范高等专科学校合并组建,所以它的历史源头有两条线。其中,咸宁师范高等专科学校的历史更为悠久,可以追溯到1937年创立的蒲圻简易师范学校和1942年创立的湖北省立第一高级中学。

湖北科技学院是一本还是二本,湖北科技学院是几本大学(一所医学院校与一所师范院校合并)

1960年湖北省立蒲圻师范学校更名为湖北省立咸宁第一师范学校,同年与湖北省立咸宁第二师范学校合并组建湖北省咸宁县蒲圻师范学校。学校几经变迁后,于1971年合并组建湖北省咸宁地区师范学校;1977年升格为武汉师范学院咸宁分院;1983年更名为咸宁师范专科学校;1993年更名为咸宁师范高等专科学校。

另一条线的咸宁医学院,是一所老牌本科院校,也是湖北省最早建立的几所本科医学院校之一,本科办学历史悠久,早在1977年就开始招收本科生。2002年3月,与咸宁师范高等专科学校合并组建咸宁学院,开启全新的办学模式。

2 两所院校合并的始末

湖北科技学院是一本还是二本,湖北科技学院是几本大学(一所医学院校与一所师范院校合并)

2000年左右,全国掀起了一片高校合并潮,按照当时咸宁市政府的意思,咸宁也要办一所综合性大学。考虑到咸宁本地的高教资源有限,一所咸宁医学院和一所咸宁师专,如果能合并,就可以成为综合性学校。但咸宁医学院的老师们不同意,毕竟自己好歹在1977年就是一所本科院校,而且还是临床医学,担心合并后,会被拖后腿,这也是不争的事实。

咸宁作为一个经济发展一般的地级市,搞地方特色院校是学校发展的最好路子,突出自己的特点做大做强。然而学校的合并确实给两校的发展带来了困扰。咸宁医学院的临床医学、口腔医学、眼视光医学、临床药学等,都有自己的特色和口碑。在武汉的同济医学院,就是大而强,各个学科、附属医院都很强,咸宁医学院肯定是比不过的。既然综合实力比不过,异军突起才是最佳方案,让有特色的学科做大做强才是硬道理。

可事实上,学校的发展没有想象中那么好,2011年,药学才获批专业硕士学位授予权。反过来看当年与咸宁医学院争夺申硕名额的郧阳医学院和湖北汽车工业学院,早就有了自己的硕士点。尤其是郧阳医学院拿了口腔和临床两个硕士点。试想,如果咸宁医学院没有合并,是不是早就一本招生并拥有硕士点了?咸宁医学院毕业生早已遍布湖北乃至全国,整整45年的本科医学教育,培养了很多各级医疗单位骨干。遗憾的是,临床医学专业至今都没能取得硕士点,至今也没有一家直属的三甲医院。

3 湖北科技学院的学科建设

湖北科技学院现在拥有药学院、基础医学院、口腔与眼视光医学院等教学学院19个,独立设置的科研机构4个,本科专业64个,国家专业硕士特需项目1个。学校现有附属医院12所、教学医院8所,国家地方联合工程实验室1个(材料辐射改性技术国家地方联合工程实验室)。

湖北科技学院是一本还是二本,湖北科技学院是几本大学(一所医学院校与一所师范院校合并)

湖北科技学院是一本还是二本,湖北科技学院是几本大学(一所医学院校与一所师范院校合并)

在软科的大学排行榜上,湖北科技学院排在第364名,相比较与2020、2021年,位次变化不大。

湖北科技学院是一本还是二本,湖北科技学院是几本大学(一所医学院校与一所师范院校合并)

而湖北另一所老牌医学院郧阳医学院在更名为湖北医药学院后,无论是排名还是学科实力,现在都已经超越了湖北科技学院,并且在校名的辨识度上也更符合学校的传承。

总结:

要说湖北科技学院合并和更名的最大好处,可能就是每年的生源质量的确提高了。

湖北科技学院是一本还是二本,湖北科技学院是几本大学(一所医学院校与一所师范院校合并)

湖北科技学院是一本还是二本,湖北科技学院是几本大学(一所医学院校与一所师范院校合并)

对比下2020和2021两年,湖北科技学院在湖北的录取分数线,位次提高了一万多。

类似的情况也发生在山西省,湖北科技学院2020年的最低位次是79981,到了2021年提到了60370。

湖北科技学院是一本还是二本,湖北科技学院是几本大学(一所医学院校与一所师范院校合并)

湖北科技学院是一本还是二本,湖北科技学院是几本大学(一所医学院校与一所师范院校合并)

湖北科技学院的更名,并没有考虑到学校历史的传承问题。对于不了解这所学校的考生和考生家长来说,名字确实比之前的咸宁学院、咸宁医学院好听了不少,但实质没有太大的变化。根据学校的未来规划,到2030年,学校力争获得博士学位授予权单位,办学特色进一步彰显,综合办学实力和办学水平大为提升,成功升格“大学”,综合排名稳居省内同类大学前列。

不知道对于分数较高的考生,认不认可这所学校的现有实力呢?

2、湖北科技学院是一本还是二本:湖北科技学院是几本大学?一本还是二本

湖北科技学院是几本大学?一本还是二本?考生都很关心,考生填报志愿时应考虑实际情况。要知道湖北科技学院是几本大学?一本还是二本?,我们可以通过招生分数录取批次知道到。

全国各高校录取分数线招生批次2021全国各高校招生简章一、湖北科技学院是几本?

首先,这一点希望大家清楚,教育部门并没有说湖北科技学院是一本还是二本,是几本只是民间的说法(某大学在某省是第一批次招生的话,就说该大学是一本大学,在第二批次招生的话,就说该大学是二本大学,既有一批又有二批招生的大学,通常也认为是二本大学)。

1、根据公开信息可知:

湖北省:湖北科技学院在湖北是本科批次招生,所以我们通常认为湖北科技学院是本科大学。(自2021年开始,湖北省高考将本科一批、本科二批合并为普通本科批次招生)

省外:如果你不是湖北考生,湖北科技学院在你所在的省份是本科二批招生的话,你也可以说湖北科技学院是二本大学。

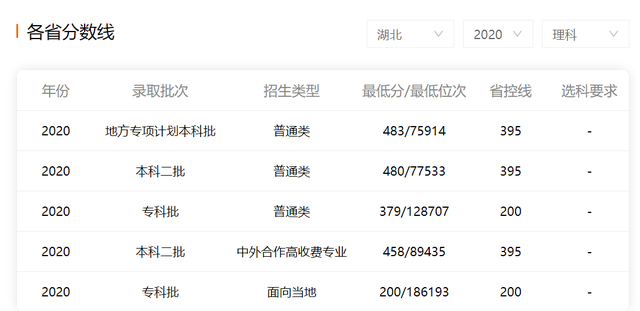
以下是湖北科技学院2020湖北省录取批次及分数线,供大家参考,如有变动,以官方为准。若没有具体录取批次,考生可根据自己所在省份的一本、二本批次分数线来对比确定。

2、2020湖北科技学院录取批次及分数线【湖北】

2020年湖北省录取分数

生源地

学院

专业名称

科类

录取方式

最低分

最高分

平均分

湖北

音乐学院

表演

艺术类

普通类

221.21

241.87

228.35

湖北

资源环境科学与工程学院

测绘工程

理工类

普通类

480.1050901

488.0981041

483.06

湖北

资源环境科学与工程学院

地理科学类

文史类

普通类

497.1031011

528.1131171

502.1

湖北

资源环境科学与工程学院

地理科学类

理工类

普通类

480.1130951

499.0901191

484.32

湖北

电子与信息工程学院

电气工程及其自动化

理工类

普通类

486.0971081

516.1081121

492.02

湖北

电子与信息工程学院

电气工程及其自动化(中外合作办学)

理工类

中外合作

458.0991061

480.1021011

467.23

湖北

经济与管理学院

电子商务

文史类

普通类

498.1101291

530.1131121

504.21

湖北

经济与管理学院

电子商务

 湖北科技学院是一本还是二本,湖北科技学院是几本大学(一所医学院校与一所师范院校合并)

理工类

普通类

485.0991081

490.0941101

486.65

湖北

电子与信息工程学院

电子信息类

理工类

地方专项

486.0990871

492.1161131

487.51

湖北

电子与信息工程学院

电子信息类

理工类

普通类

484.1040831

496.1121141

486.5

湖北

资源环境科学与工程学院

工程管理

理工类

地方专项

483.0961281

486.0931131

484.11

湖北

资源环境科学与工程学院

工程管理

理工类

普通类

481.0841181

492.1041071

483.88

湖北

经济与管理学院

工商管理类

文史类

地方专项

494.1130891

500.1011031

495.83

湖北

经济与管理学院

工商管理类

文史类

普通类

495.1190911

512.1051231

500.16

湖北

经济与管理学院

工商管理类

理工类

地方专项

484.1131101

502.0961151

488.7

湖北

经济与管理学院

工商管理类

理工类

普通类

484.1071001

506.1181161

489.34

湖北

基础医学院

公共事业管理

文史类

普通类

493.1130991

515.1170841

495.56

湖北

基础医学院

公共事业管理

理工类

普通类

480.1031061

493.0991021

481.99

湖北

人文与传媒学院

广播电视编导

艺术类

普通类

637.94

700.97

647.89

湖北

核技术与化学生物学院

核工程与核技术

理工类

普通类

480.1031231

492.0941011

483.07

湖北

护理学院

护理学

文史类

普通类

494.0971081

503.1101111

495.94

湖北

护理学院

护理学

理工类

普通类

480.1080871

502.1041141

484.67

湖北

护理学院

护理学(中职技能)

中职技能

技能高考

607.000441

638.000457

614.49

湖北

核技术与化学生物学院

化学类

理工类

普通类

480.1071031

503.1000871

484.79

湖北

电子与信息工程学院

机械设计制造及其自动化

理工类

普通类

486.0910951

512.0991221

489.36

湖北

计算机科学与技术学院

计算机类

理工类

地方专项

486.1101031

490.1041141

487.5

湖北

计算机科学与技术学院

计算机类

理工类

普通类

487.0861151

522.1001061

491.63

湖北

教育学院

教育学类

文史类

普通类

497.1101191

515.0921231

501.42

湖北

教育学院

教育学类

理工类

普通类

484.1040831

502.1091101

488.71

湖北

经济与管理学院

经济学

文史类

普通类

497.0991031

520.1080971

502.11

湖北

经济与管理学院

经济学

理工类

地方专项

485.1081291

499.1050971

490.9

湖北

经济与管理学院

经济学

理工类

普通类

485.0991101

511.1161121

490.16

湖北

经济与管理学院

酒店管理

文史类

普通类

493.1130951

501.1031041

494.88

湖北

经济与管理学院

酒店管理

理工类

普通类

480.1070911

485.1010981

482.33

湖北

五官医学院

口腔医学

理工类

普通类

506.1031041

537.1071031

513.82

湖北

人文与传媒学院

历史学

文史类

普通类

495.1110871

508.1121181

498.68

湖北

药学院

临床药学

理工类

地方专项

483.1031121

485.0931101

483.7

湖北

药学院

临床药学

理工类

普通类

481.1031031

493.1111041

484.83

湖北

基础医学院

临床医学

理工类

地方专项

485.1030991

516.1021131

492.71

湖北

基础医学院

临床医学

理工类

普通类

487.0960951

541.1071081

496.95

湖北

艺术与设计学院

美术学

艺术类

普通类

549.2

569.2

556.95

湖北

艺术与设计学院

设计学类

艺术类

普通类

547.6

577.6

556.84

湖北

核技术与化学生物学院

生物科学

理工类

普通类

482.0960961

492.1041061

484.93

湖北

生物医学工程学院

生物医学工程

理工类

普通类

480.1031041

497.1020901

483.19

湖北

数学与统计学院

数学与应用数学

理工类

普通类

482.1071001

505.1001201

486.13

湖北

体育学院

体育学类

体育类

普通类

519.250427

534.750427

522.7

湖北

数学与统计学院

统计学

理工类

普通类

481.1031171

492.1121021

484.05

湖北

资源环境科学与工程学院

土地资源管理

文史类

普通类

494.1030991

511.1111201

496.17

湖北

资源环境科学与工程学院

土地资源管理

理工类

普通类

480.1091151

505.0811051

483.9

湖北

外国语学院

外国语言文学类

文史类

地方专项

495.1031001

501.0941171

497.51

湖北

外国语学院

外国语言文学类

文史类

普通类

494.1140931

512.1061081

499.52

湖北

外国语学院

外国语言文学类

理工类

普通类

482.1090921

503.1001171

486.7

湖北

人文与传媒学院

网络与新媒体

文史类

普通类

499.1080961

519.1061211

503.26

湖北

人文与传媒学院

网络与新媒体

理工类

普通类

488.0951101

521.1021191

494.1

湖北

音乐学院

舞蹈表演

艺术类

普通类

233

245.4

235.54

湖北

电子与信息工程学院

物理学

理工类

普通类

481.1000681

499.0991181

484.94

湖北

教育学院

学前教育(中职技能)

中职技能

技能高考

586.000418

609.000436

593.93

湖北

五官医学院

眼视光医学

理工类

地方专项

483.0991191

492.1011021

485.5

湖北

五官医学院

眼视光医学

理工类

普通类

486.0781151

515.0960961

491.78

湖北

药学院

药学类

理工类

普通类

480.1031031

502.0981141

484.58

湖北

生物医学工程学院

医学信息工程

理工类

普通类

481.0901061

504.0991041

484.13

湖北

临床医学院

医学影像学

理工类

地方专项

483.1051111

486.1170841

485.51

湖北

临床医学院

医学影像学

理工类

普通类

486.1030931

517.1001161

494.09

湖北

音乐学院

音乐学

艺术类

普通类

559.724

594.98

566.47

湖北

教育学院

应用心理学

理工类

普通类

482.1180931

508.1161061

487.04

湖北

基础医学院

预防医学

理工类

普通类

482.0821181

495.1051111

484.41

湖北

核技术与化学生物学院

园林

理工类

普通类

480.1051011

499.1111071

483.56

湖北

人文与传媒学院

中国语言文学类

文史类

地方专项

497.1101011

506.1111091

501.51

湖北

人文与传媒学院

中国语言文学类

文史类

普通类

496.0981151

529.1131161

500.09

提示该大学更多信息可通过下方关键词“学校名字”查看,或者上方搜索栏查询。

本文关键词:湖北科技学院是重点大学吗,湖北科技学院 是几本,湖北武汉科技学院是几本,湖北科技学院是几本大学啊,湖北科技学院是几本学校。这就是关于《湖北科技学院是一本还是二本,湖北科技学院是几本大学(一所医学院校与一所师范院校合并)》的所有内容,希望对您能有所帮助!

本文链接:https://bk.89qw.com/a-569278

最近发表
网站分类