手机版

百科生活 投稿

拦河坝下宽上窄是什么原理,为什么河堤要下宽上窄(迎战2022年中考物理押题卷-江苏连云港卷)

百科 2026-02-13 19:16:11 投稿 阅读:6488次

关于【拦河坝下宽上窄是什么原理】,为什么河堤要下宽上窄,今天小编给您分享一下,如果对您有所帮助别忘了关注本站哦。

  • 内容导航:
  • 1、拦河坝下宽上窄是什么原理:为什么河堤要下宽上窄
  • 2、迎战2022年中考物理押题卷-江苏连云港卷

1、拦河坝下宽上窄是什么原理:为什么河堤要下宽上窄

河堤底部受到河水的压力,要比上部受到的河水压力大得多。由于河堤的重力是竖直向下的,它与河水横向的推力会产生出斜向下的合力,河堤要承受住这个合力而不倾倒,就必须建得足够宽。

为什么江河大提与水库大坝都修成上窄下宽,无论是江河大堤,还是水库大坝都修成上窄下宽,其目的主要是为了“三防”

 1. 防水压 根据液体内部压强公式p=ρgh可知,堤坝内的水越靠近堤坝底,水深h越大,水产生的压强也越大,堤坝下宽能承受较大的水压,确保堤坝的安全。

2. 防渗漏 堤坝下部受水的压强越大,水越容易渗进坝体,把下部修得宽些,就可以延长堤坝内水的渗透路径,增大渗透阻力,从而提高堤坝的防渗透性能。

3.防滑动 堤坝内水的压力总有将大堤向外水平推动和将大坝推向下游的运动趋势,堤坝基底需要有与之抗衡的静摩擦力,才能保持堤坝平衡。

将堤坝下部修宽既可增大坝体的重力,也可增大迎水面(挡水面)上水对坝体竖直向下的压力,因此,可以增强坝体与坝基间的最大静摩擦力,达到防止堤坝滑动的目的。

2、迎战2022年中考物理押题卷-江苏连云港卷

迎战2022年中考物理押题卷

江苏连云港卷

(本卷共23小题,考试时间:60分钟 试卷满分:90分)

一、选择题(本大题共10小题每小题2分,共20分。每小题给出的四个选项中只有一个符合题)

1.关于声现象,下列说法中正确的是(  )。

A.响度越大的声音在空气中的传播速度越大;

B.从电话听筒中听出对方是谁,是根据音色来判断的;

C.摩托车的消声器是在声音的传播过程中减弱噪声的;

D.用超声波清洗眼镜说明声波可以传递信息

【答案】B。

【解析】A.声音在空气中的传播速度与温度有关,与响度无关,故A错误;

B.音色是声音的特色,每个人的音色一般都不同,因此可以根据音色来判断对方是谁,故B正确;

C.摩托车的消声器是在声源处减弱噪声的,故C错误;

D.用超声波清洗眼镜说明声波可以传递能量,故D错误。故选B。

2.下列有关物体质量的说法中正确的是( )。

A.将一铁块压扁了,其质量不变;

B.一块冰熔化成水,其质量减小;

C.宇航员将石头从月球带回地球上,其质量将变小;

D.1 kg 铁块质量比 1 kg 木头质量大

【答案】A。

【解析】质量是物体本身的一种属性,用来表示所含物质的多少,跟物体的形状、状态、位置运动状态无关;

将一铁块压扁了,是改变了形状,故物质的质量不变,故A正确;

一块冰熔化成水,是状态的改变,故其质量不变,故B错误;

宇航员将一块石头从月球带回地球上,是位置的改变,所以其质量不变,故C错误;1kg铁块质量跟1kg木头质量一样大,故D错误,选A。

3.超市的购物小车被推开后,向前运动,最终停下来。在这一过程中,下列说法正确的是( )。

A.人对小车的推力越来越小;

B.离开人手后的小车不受力的作用;

C.刚离开手的小车相对于货架是运动的;

D.小车在运动过程中受到平衡力的作用

【答案】C。

【解析】A.购物小车被推开后不再受到推力的作用,之所以向前运动是因为小车具有惯性,故本选项错误;

B.离开人手后的小车不再受到推力的作用,但要受到摩擦阻力的作用.故本选项错误;

C.刚离开手的小车与货架之间的位置发生了变化,因此相对于货架是运动的.故本选项正确;

D.小车在运动过程中仅受到摩擦阻力的作用,速度减小,受力不平衡.故本选项错误。故选C。

4.穿轮滑鞋的小红因推墙而运动,对此现象中相关物理知识分析正确的是(  )。

A.小红相对于墙是静止的 B.小红对墙的力小于墙对小红的力

C.力改变了墙的运动状态 D.力改变了小红的运动状态

【答案】D。

【解析】A.由题知,小红因推墙而运动,所以小红相对于墙是运动的,故A错误;

B.小红对墙的力和墙对小红的力是一对相互作用力,大小相等,故B错误;

C.小红推墙,墙相对于地面是静止的,没有改变墙的运动状态,故C错误;

D.小红原来处于静止状态,因为推墙而运动,所以力改变了小红的运动状态,故D正确。故选D。

5.如图所示,灯泡L1 和L2 (灯泡中只要有电流就能发光)相同,电源电压小于灯泡的额定电压,且保持不变,开关S由断开到闭合,电路中(  )。

拦河坝下宽上窄是什么原理,为什么河堤要下宽上窄(迎战2022年中考物理押题卷-江苏连云港卷)

A.L2 不亮,电流表示数变小;

B.L1 变暗,电压表示数变大;

C.L1 变亮,电压表示数变大;

D.两灯的亮度不变,电压表示数变大

【答案】C。

【解析】A.由电路图可知,开关S断开时,L1 与L2 串联,电压表测L1 两端的电压,电流表测电路中的电流,开关S闭合时,L2 被短路不亮,电路为L1 的简单电路,电压表测电源两端的电压,电流表测电路中的电流,因串联电路中总电压等于各分电压之和,所以,开关S由断开到闭合,L1 两端的电压变大,即电压表的示数变大,由

拦河坝下宽上窄是什么原理,为什么河堤要下宽上窄(迎战2022年中考物理押题卷-江苏连云港卷)

可知,通过L1 的电流即电路中的电流变大,即电流表的示数变大,故A错误;

BCD.因灯泡的亮暗取决于实际功率的大小,所以,由PUI可知,L1 的实际功率变大,L1 变亮,故C正确,BD错误。故选C。

6.大气压强与人们日常生活的关系非常密切。以下事实中主要利用了大气压强的是(  )。

A.飞镖的箭头很尖 B.拦河坝的截面上窄下宽

C.用吸管吸取饮料 D.大型客机在空中水平飞行

【答案】C。

【解析】A.飞镖的箭头很尖,是为了减小受力面积从而增大压强,与大气压强无关,故A不符合题意;

B.拦河坝的截面上窄下宽,是利用了液体压强与液体的深度有关,与大气压强无关,故B不符合题意;

C.用吸管吸取饮料时,吸管中的空气先被吸走,此时吸管中的气压小于外界大气压,饮料在压强差的作用下被压入吸管中,利用了大气压强,故C符合题意;

D.大型客机在空中水平飞行,是利用了流体流速与压强的关系,与大气压无关,故D不符合题意。

故选C。

7.下列与短跑运动员有关的物理知识,正确的是(  )。

A.鞋底花纹很深,是为了减小摩擦;

B.蹬地起跑,说明力可以改变人的运动状态;

C.冲刺到终点不能立即停下来,是由于人受到惯性力的作用;

D.当他站在水平跑道上时,他对地面的压力与地面对他的支持力是一对平衡力

【答案】B。

【解析】A.运动员的鞋底花纹很深,是采用了增大接触面粗糙程度的方法,可以增大与地面间摩擦,故A错误;

B.运动员用力蹬地起跑,由静止变为运动,说明力可以改变物体的运动状态,故B正确;

C.运动员到达终点前,以较快的速度向前运动,运动员由于惯性还要保持原来的运动状态向前运动,不能立即停下来,惯性是物体的一种性质,惯性不是力,故C错误;

D.当他站在水平跑道上时,他对地面的压力与地面对他的支持力作用在两个物体上,不是一对平衡力,故D错误。故选B。

8.如图是小华设计的输液提示器电路,通过观察电压表示数或灯泡亮暗的变化即可了解药液重量的变化。电源电压恒定,不考虑温度对灯泡电阻的影响,当药液量减少时(  )。

拦河坝下宽上窄是什么原理,为什么河堤要下宽上窄(迎战2022年中考物理押题卷-江苏连云港卷)

A.电压表示数增大 B.灯泡变亮 C.电路中的电流减小 D.电路的总功率减小

【答案】B。

【解析】BC.由图可知,该电路为串联电路,电压表测量滑动变阻器两端的电压;当药液量减少时,药液袋对弹簧的拉力变小,弹簧的长度变短,滑片向上移动,滑动变阻器接入电路中的电阻变小,电路的总电阻变小,根据欧姆定律可知,电路中电流的变大;通过灯泡的电流变大,灯泡亮度变亮,故B符合题意,C不符合题意;

A.滑动变阻器接入电路中的电阻变小,根据串联电路的分压规律可知,滑动变阻器分担的电压变小,电压表示数变小,故A不符合题意;

D.电源电压恒定,根据PUI可知,总功率变大,故D不符合题意。故选B。

9.如图所示,小鸭浮在水面上,它在水中的倒影正确的是(  )。

A.

拦河坝下宽上窄是什么原理,为什么河堤要下宽上窄(迎战2022年中考物理押题卷-江苏连云港卷)

B.

拦河坝下宽上窄是什么原理,为什么河堤要下宽上窄(迎战2022年中考物理押题卷-江苏连云港卷)

C.

拦河坝下宽上窄是什么原理,为什么河堤要下宽上窄(迎战2022年中考物理押题卷-江苏连云港卷)

D.

拦河坝下宽上窄是什么原理,为什么河堤要下宽上窄(迎战2022年中考物理押题卷-江苏连云港卷)

【答案】B。

【解析】平静的湖面相当于平面镜,可使小鸭通过湖面成像,并且它的像与本身以湖面为对称,故ACD错误,B正确。故选B。

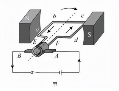
10.选项图中所示的装置中与甲图工作原理相同的是(  )。

拦河坝下宽上窄是什么原理,为什么河堤要下宽上窄(迎战2022年中考物理押题卷-江苏连云港卷)

A.

拦河坝下宽上窄是什么原理,为什么河堤要下宽上窄(迎战2022年中考物理押题卷-江苏连云港卷)

自发电手电筒 B.

拦河坝下宽上窄是什么原理,为什么河堤要下宽上窄(迎战2022年中考物理押题卷-江苏连云港卷)

话筒

C.

拦河坝下宽上窄是什么原理,为什么河堤要下宽上窄(迎战2022年中考物理押题卷-江苏连云港卷)

手摇式发电机 D.

拦河坝下宽上窄是什么原理,为什么河堤要下宽上窄(迎战2022年中考物理押题卷-江苏连云港卷)

扬声器

【答案】D。

【解析】图甲中,线圈通电后,会发生转动,它的原理是磁场对通电线圈有力的作用。

A.自发电手电筒利用电磁感应现象制成的,故A不符合题意;

B.话筒利用的是电磁感应原理,故B不符合题意;

C.手摇式发电机利用电磁感应现象制成的,故C不符合题意;

D.扬声器的原理是磁场对通电线圈有力的作用,故D符合题意。故选D。

二、填空题(本大题共7小题,第11-16题每空1分,第17题每空2分,共21分)

11.小勇放学后,背着重40N的书包沿水平路面走了200m,用时3min,又用1min爬上了大约9m高的四楼回到了家,小勇的重力为600N。则他在回家过程中对书包所做的功为______J,他所做总功的功率是______W。

【答案】360;24。

【解析】[1]小勇回家过程中对书包的作用力沿竖直方向,所以他背着书包在水平路面行走时,他对书包不做功,只在爬楼过程对书包做了功。所做的功

拦河坝下宽上窄是什么原理,为什么河堤要下宽上窄(迎战2022年中考物理押题卷-江苏连云港卷)

[2]上楼时,小勇不仅要克服书包的重力做功,还要克服自身重力做功。克服自身重力做的功

拦河坝下宽上窄是什么原理,为什么河堤要下宽上窄(迎战2022年中考物理押题卷-江苏连云港卷)

做的总功

拦河坝下宽上窄是什么原理,为什么河堤要下宽上窄(迎战2022年中考物理押题卷-江苏连云港卷)

整个过程所用时间

拦河坝下宽上窄是什么原理,为什么河堤要下宽上窄(迎战2022年中考物理押题卷-江苏连云港卷)

所做总功的功率

拦河坝下宽上窄是什么原理,为什么河堤要下宽上窄(迎战2022年中考物理押题卷-江苏连云港卷)

12.云南是爨氏文化的发源地,现存于云南某校的爨宝子碑被誉为“南碑瑰宝”,具有较高的书法艺术价值.被很多书法爱好者临摹,临摹时闻到淡淡的“墨香”是__________现象:寒冷的冬天临摹时,用热水袋捂手,是通过_______的方式改变手的内能

【答案】扩散;热传递。

【解析】第一空.闻到淡淡的“墨香”是分子运动的结果,即扩散现象;

第二空.寒冷的冬天临摹时,用热水袋捂手,是通过热传递将内能从热水传递到手,即通过热传递的方式改变手的内能。

13.初二年级某班一位同学用调好的天平测量一体积为8cm3的小石块的质量,当天平重新平衡时,天平右盘中的砝码和游码位置如图所示,该小石块的密度为   ;而另一位同学测得乙物体的质量是甲物体质量的3倍,若甲、乙两物体的体积比为4:3,则甲、乙两物体的密度比为   。

拦河坝下宽上窄是什么原理,为什么河堤要下宽上窄(迎战2022年中考物理押题卷-江苏连云港卷)

【答案】2.2g/m3;1:4。

【解析】(1)由图知,称量标尺的分度值为0.2g,游码显示的示数为2.6g,物体的质量为:

m=10g+5g+2.6g=17.6g;

甲的密度为:ρ甲=

拦河坝下宽上窄是什么原理,为什么河堤要下宽上窄(迎战2022年中考物理押题卷-江苏连云港卷)

拦河坝下宽上窄是什么原理,为什么河堤要下宽上窄(迎战2022年中考物理押题卷-江苏连云港卷)

=2.2g/m3;

(2)由题知,m甲:m乙=1:3,V甲:V乙=4:3,

甲、乙两物体的密度:ρ甲:ρ乙=

拦河坝下宽上窄是什么原理,为什么河堤要下宽上窄(迎战2022年中考物理押题卷-江苏连云港卷)

拦河坝下宽上窄是什么原理,为什么河堤要下宽上窄(迎战2022年中考物理押题卷-江苏连云港卷)

拦河坝下宽上窄是什么原理,为什么河堤要下宽上窄(迎战2022年中考物理押题卷-江苏连云港卷)

×

拦河坝下宽上窄是什么原理,为什么河堤要下宽上窄(迎战2022年中考物理押题卷-江苏连云港卷)

拦河坝下宽上窄是什么原理,为什么河堤要下宽上窄(迎战2022年中考物理押题卷-江苏连云港卷)

×

拦河坝下宽上窄是什么原理,为什么河堤要下宽上窄(迎战2022年中考物理押题卷-江苏连云港卷)

=1:4。

14.某同学观察到他家里的电能表及空气开关如图所示.电能表上标识的“10(20)A”表示这个电能表的 电流为10A,这个电能表的 为20A。他家同时工作的用电器的总功率不能超过 W。该同学家的进户线是 (填序号)。

拦河坝下宽上窄是什么原理,为什么河堤要下宽上窄(迎战2022年中考物理押题卷-江苏连云港卷)

【答案】标定;这个电能表的额定最大;4400;①②。

【解析】(1)“10A”表示电能表的标定电流,“20A”表示电能表短时间允许通过的最大电流;

家中用电器的总功率不能超过:P大=UI=220V×20A=4400W;

(2)家庭电路中,火线和零线两条输电线进户以后先接到电能表上,电能表后接的是总开关,由图可知①②是该同学家的进户线。

故答案为:标定;这个电能表的额定最大;4400;①②。

15.如图所示的实验装置,是用来探究电流通过导体产生的热量与______的关系,若通过R1 的电流为1A,通电时间为10s时,R1 产生的热量为______J。

【答案】电阻;50。

【解析】(1)由图示电路知,两个阻值不同的电阻串联在电路中,则通过两个电阻的电流相等,那么图中装置可探究导体产生热量与电阻的关系。

(2)通电10s,R1 产生的热量Q=I2Rt=(1A)2 ×5Ω×10s=50J。

16.《天工开物》中写道 “凡弓弦取食柘叶蚕茧”,指出用多股蚕丝作为弓的弦,这说明蚕丝________好,拉弯的弓把箭射出去,是把弓的__________能转化为箭的_______能。

【答案】弹性;弹性势;机械。

【解析】弓的弦需要发生弹性形变,用多股蚕丝作为弓的弦,这说明蚕丝弹性好。

拉弯的弓具有弹性势能,拉弯的弓把箭射出去,将弹性势能转化为机械能。

17.当水中的光源发出光束到空中时,折射角  (选填“大于”、“等于”或“小于”)入射角.当你在露天游泳池游泳时,潜入水中观看池边树梢,看到的是树梢的  (选填“实”或“虚”)像,像的位置比树梢的实际位置  (选填“高”、“低”或“一样高”)。

【答案】大于;虚;高。

【解析】当水中的光源发出光束到空中时,折射角大于入射角;正在游泳的人看见池边树梢,是池边树梢反射的光斜射到水面时,发生折射,此时折射角小于入射角,折射光线靠近法线,向下偏折,进入人的眼睛,而人逆着光的方向看上去看到的是树梢实际位置偏高的虚像.

故答案为:大于;虚;高。

三、作图和实验探究题(本大题共4小题,每图或每空2分,共30分)

18.(4分)按照题目要求作图。

(1)如图所示,O为凸透镜的光心,F为凸透镜的两个焦点,请在图中画出光源S经凸透镜所成的像S′。

拦河坝下宽上窄是什么原理,为什么河堤要下宽上窄(迎战2022年中考物理押题卷-江苏连云港卷)

(2)如图所示,处于光滑水平面的小车上放有一条形磁铁,左侧有一螺旋管,当开关S闭合时,发现小车向右运动,请在图中标出电源的正负极,通电螺线管的N、S极和A点处磁感线的方向。

拦河坝下宽上窄是什么原理,为什么河堤要下宽上窄(迎战2022年中考物理押题卷-江苏连云港卷)

【解析】(1)利用过光心的光线传播方向不改变,平行与主光轴的光通过透镜后会过焦点,这两条折射光线的交点就是像点S′;

拦河坝下宽上窄是什么原理,为什么河堤要下宽上窄(迎战2022年中考物理押题卷-江苏连云港卷)

(2)从图可知,条形磁铁的右端是S极,左端为N极;由于同名磁极相互排斥,异名磁极相互吸引,可知通电螺线管的右端是N极,左端是S极;

根据安培定则,伸出右手握住螺线管使大拇指指示通电螺线管的N极,则四指弯曲所指的方向为电流的方向,所以电源的右端为正极,左端是负极;

在磁体的外部,磁感线都是从磁体的N极出来回到S极,所以磁感线方向都向右。如图所示:

拦河坝下宽上窄是什么原理,为什么河堤要下宽上窄(迎战2022年中考物理押题卷-江苏连云港卷)

19.(10分)现有下列实验器材:①额定电压为2.5V的小灯泡;②电压约为6V的直流电源:③量程为6V的电压表;④最大阻值为99.99Ω的电阻箱R;⑤开关

拦河坝下宽上窄是什么原理,为什么河堤要下宽上窄(迎战2022年中考物理押题卷-江苏连云港卷)

,单刀双掷开关

拦河坝下宽上窄是什么原理,为什么河堤要下宽上窄(迎战2022年中考物理押题卷-江苏连云港卷)

,导线若干。要测量小灯泡的额定功率,请将下列实验步骤补充完整。

拦河坝下宽上窄是什么原理,为什么河堤要下宽上窄(迎战2022年中考物理押题卷-江苏连云港卷)

拦河坝下宽上窄是什么原理,为什么河堤要下宽上窄(迎战2022年中考物理押题卷-江苏连云港卷)

(1)按电路图甲将图乙所示的实物图连接完整_______。

(2)先将电箱阻值调到________(选填“最大”、“最小”或“任意值”)再闭合开关S1。

(3)将S2 掷向a,调节电阻箱阻值,使电压表示数

拦河坝下宽上窄是什么原理,为什么河堤要下宽上窄(迎战2022年中考物理押题卷-江苏连云港卷)

,再将

拦河坝下宽上窄是什么原理,为什么河堤要下宽上窄(迎战2022年中考物理押题卷-江苏连云港卷)

掷向b,电压表示数U2 及电阻箱示数R如图丙所示,

拦河坝下宽上窄是什么原理,为什么河堤要下宽上窄(迎战2022年中考物理押题卷-江苏连云港卷)

=________V,R=_______Ω,则该小灯泡的额定功率为_______W。

【答案】如图;最大;5.8;6.6;1.25。

【解析】(1)灯泡和变阻箱串联,电压表连接单刀双掷开关。

拦河坝下宽上窄是什么原理,为什么河堤要下宽上窄(迎战2022年中考物理押题卷-江苏连云港卷)

(2)为保护电路,电阻箱先调到阻值最大处。

(3)将S2 掷向a,调节电阻箱阻值,使电压表示数

拦河坝下宽上窄是什么原理,为什么河堤要下宽上窄(迎战2022年中考物理押题卷-江苏连云港卷)

,灯泡正常发光,再将

拦河坝下宽上窄是什么原理,为什么河堤要下宽上窄(迎战2022年中考物理押题卷-江苏连云港卷)

掷向b,电压表测电源电压,分度值0.2V,示数5.8V,电阻箱示数6.6Ω,串联电流为

拦河坝下宽上窄是什么原理,为什么河堤要下宽上窄(迎战2022年中考物理押题卷-江苏连云港卷)

该小灯泡的额定功率为

拦河坝下宽上窄是什么原理,为什么河堤要下宽上窄(迎战2022年中考物理押题卷-江苏连云港卷)

20.(8分)在观看“十一国庆”阅兵仪式时,有同学注意到到:

①飞机在起飞和航行时机翼的仰角不同;

②飞机越大其机翼越大。他想探究“机翼获得升力的大小与机翼仰角、机翼面积有什么关系?”(注:机翼仰角为机翼下表面与水平面的夹角,机翼面积指机翼在水平面上投影的面积)于是,他和兴趣小组的同学们一起利用塑料泡沫等材料自制了三个质量相同、形状相同、面积不同的机翼模型,将其固定在测力计上,在机翼模型的正前方用电扇迎面吹风,来模拟飞机起飞时的气流,实验装置如图所示。(每次吹风前托盘测力计的示数均为3.5N)。

机翼面积/cm2测力计示数/N机翼仰角

275

395

566

0°(水平)

3.2

3.0

2.6

较小

3.0

2.9

2.4

较大

2.9

2.8

2.3

最大

3.1

2.9

2.7

(1)每次实验数据记录如上表,在实验中,当机翼仰角为0°,机翼面积为395厘米2时,机翼获得升力的大小为________。

(2)在上述实验中,飞机是如何获得升力的?________。

(3)通过分析数据可以得出结论:①________; ②________。

拦河坝下宽上窄是什么原理,为什么河堤要下宽上窄(迎战2022年中考物理押题卷-江苏连云港卷)

【答案】(1)0.5N;(2)机翼上方空气流速大,压强小;下方的空气流速小,压强大,这个压强差使飞机获得一个向上的升力;(3)①机翼获得的升力大小与机翼仰角大小无明显关系;②当机翼质量、形状、仰角和风速相同时,机翼面积越大,获得的升力越大。

【解析】(1)在上述实验中,“机翼”获得升力的大小等于吹风前后测力计示数的变化量(或差值、减小量),由题图可知,每次吹风前托盘测力计的示数均为3.5N,当机翼仰角为0°,机翼面积为395cm2时,吹风后的托盘测力计的示数为3.0N,所以,机翼获得升力的大小为 F升=F前﹣F后=3.5N﹣3.0N=0.5N;

(2)由图可知,机翼上凸下平,用电扇迎面吹风时,机翼上方的空气流速大于下方的空气流速,由流体压强与流速的关系可知,机翼上方的空气压强小于下方的空气压强,这样机翼的上下方形成向上的压强差获得向上的升力;

(3)分析表中数据可知:①当质量、形状、机翼面积和风速相同时,仰角增大,获得的升力有时大、有时小,所以获得的升力不一定增大,即机翼获得的升力大小与机翼仰角大小无明显关系;②当质量、形状、仰角和风速相同时,机翼面积越大,获得的升力越大。

21.(8分)某一小组用图甲所示装置“比较不同液体吸热升温特点”。在两个相同烧杯中分别加入质量、初温相同的水和食盐水,用相同酒精灯加热直到沸腾。

拦河坝下宽上窄是什么原理,为什么河堤要下宽上窄(迎战2022年中考物理押题卷-江苏连云港卷)

(1)分别测量出水和食盐水的沸点,发现食盐水的沸点比水高.其中水沸腾时温度计的局部放大图如乙图所示,水的沸点为_______℃。

(2)实验中加热食盐水到沸腾需要的时间长,说明食盐水吸收的热量比水 _______ (选填 “多”或“少”)。

(3)能否仅由“加热食盐水到沸腾需要的时间长”得出食盐水比热容大的结论?答: _________ ;

其原因是: _____________________。

【答案】98;多;不能;实验中没有保持二者质量和升高的温度相同。

【解析】(1)根据图中所示,温度计示数为98℃, 所以水的沸点为98℃;

(2)我们知道要比较物质吸收热量的多少,就得比较加热时间的多少;

(3)要比较其中一个物理量的大小,就得控制其他物理量不变,所以在其他物理量不变的情况下才能比较,而实验中没有保持二者质量和升高的温度相同。

故答案为 (1)98;(2)多;(3)不能;实验中没有保持二者质量和升高的温度相同。

四、解答题(本大题共2小题,共19分。解答时要求写出必要的文字说明、公式和演算过程)

22.(9分)电动汽车是绿色环保型交通工具,它的特征是效率高、噪声小、无废气排放、无油污。如图所示是淮安市某景区电动观光车,该车技术参数如表所示。

空载质量

1080kg

空载时轮胎与水平面的接触面积

拦河坝下宽上窄是什么原理,为什么河堤要下宽上窄(迎战2022年中考物理押题卷-江苏连云港卷)

电动机的额定功率

4kW

(1)观光车静止在水平地面上,空载时对地面的压强是多大?(g取10N/kg)

(2)观光车的电动机以额定功率工作0.5h,消耗多少电能?

(3)在题(2)条件下,观光车受到牵引力为320N,运动路程为18km。在该过程中牵引力做多少功?电能转化为机械能的效率是多少?

拦河坝下宽上窄是什么原理,为什么河堤要下宽上窄(迎战2022年中考物理押题卷-江苏连云港卷)

【答案】(1)1.08

拦河坝下宽上窄是什么原理,为什么河堤要下宽上窄(迎战2022年中考物理押题卷-江苏连云港卷)

105 Pa;(2)7.2

拦河坝下宽上窄是什么原理,为什么河堤要下宽上窄(迎战2022年中考物理押题卷-江苏连云港卷)

106 J;(3)5.76

拦河坝下宽上窄是什么原理,为什么河堤要下宽上窄(迎战2022年中考物理押题卷-江苏连云港卷)

106 J,80%。

【解析】(1)由受力分析可知,观光车静止在水平地面上,空载时对地面的压力为

F=G=mg=1080kg

拦河坝下宽上窄是什么原理,为什么河堤要下宽上窄(迎战2022年中考物理押题卷-江苏连云港卷)

10N/kg=10800N;

轮胎与地面的接触面积为S=1000cm2 =0.1m2

故空载时对地面的压强为

拦河坝下宽上窄是什么原理,为什么河堤要下宽上窄(迎战2022年中考物理押题卷-江苏连云港卷)

(2)由表中数据可知,电动机的额定功率为P=4000W,故电动机以额定功率工作0.5h,消耗的电能为W=Pt=4000W

拦河坝下宽上窄是什么原理,为什么河堤要下宽上窄(迎战2022年中考物理押题卷-江苏连云港卷)

0.5

拦河坝下宽上窄是什么原理,为什么河堤要下宽上窄(迎战2022年中考物理押题卷-江苏连云港卷)

3600s=7.2

拦河坝下宽上窄是什么原理,为什么河堤要下宽上窄(迎战2022年中考物理押题卷-江苏连云港卷)

106 J;

(3)由题意可知,该过程中牵引力做功为W牵 =Fs=320N

拦河坝下宽上窄是什么原理,为什么河堤要下宽上窄(迎战2022年中考物理押题卷-江苏连云港卷)

18000m=5.76

拦河坝下宽上窄是什么原理,为什么河堤要下宽上窄(迎战2022年中考物理押题卷-江苏连云港卷)

106 J;

故由(2)中可知,电能转化为机械能的效率为

拦河坝下宽上窄是什么原理,为什么河堤要下宽上窄(迎战2022年中考物理押题卷-江苏连云港卷)

答:(1)空载时对地面的压强是

拦河坝下宽上窄是什么原理,为什么河堤要下宽上窄(迎战2022年中考物理押题卷-江苏连云港卷)

;(2)消耗的电能为7.2

拦河坝下宽上窄是什么原理,为什么河堤要下宽上窄(迎战2022年中考物理押题卷-江苏连云港卷)

106 J;(3)此过程中牵引力做的功为5.76

拦河坝下宽上窄是什么原理,为什么河堤要下宽上窄(迎战2022年中考物理押题卷-江苏连云港卷)

106 J,电能转化为机械能的效率为80%。

23.(10分)为实现自动控制,小明同学利用电磁继电器(电磁铁线圈电阻不计)制作了具有延时加热、保温、消毒等功能的恒温调奶器,其电路图如图甲所示。控制电路中,电压U1=3V,定值电阻R0 =50Ω,热敏电阻R阻值随温度变化的图像如图乙所示;工作电路中,电压U2 =220V,R1 =836Ω,R2 =44Ω。已知恒温调奶器容量为2kg,水温达到80℃时衔铁会跳起。[水的比热容为4.2×103 J/(kg?℃)]

(1)请结合此电路,简要说明电磁继电器的工作原理。

(2)求衔铁刚跳起时,通过电磁铁线圈的电流。

(3)求工作电路在保温状态下的电功率。

(4)当调奶器加满温度为25℃的水,加热元件工作500s后衔铁跳起,求此过程中水吸收的热量及恒温调奶器的加热效率。

拦河坝下宽上窄是什么原理,为什么河堤要下宽上窄(迎战2022年中考物理押题卷-江苏连云港卷)

【答案】(1)见详解;(2)0.02A;(3)55W;(4)84%。

【解析】(1)如图乙所示,温度升高时,电阻R的阻值增大,所以当温度比较低时,电阻R的阻值较小,控制电路中的电流较大,电磁铁把衔铁吸下来,工作电路中只有电阻R2 接入;当温度较高时,电阻R的阻值较答,控制电路中的电流较小,复位弹簧把衔铁拉上去,工作电路中电阻R1 和R2 串联接入,根据

拦河坝下宽上窄是什么原理,为什么河堤要下宽上窄(迎战2022年中考物理押题卷-江苏连云港卷)

可知,电压一定时,电路中的电阻越小,加热功率越大,故动触点与静触点a接触时,为保温电路,动触点与静触点b接触时,为加热电路。

(2)如图乙所示,温度为80℃时,电阻R的阻值为100Ω,则此时通过电磁铁线圈的电流为

拦河坝下宽上窄是什么原理,为什么河堤要下宽上窄(迎战2022年中考物理押题卷-江苏连云港卷)

(3)动触点与静触点a接触时,为保温电路,工作电路中电阻R1 和R2 串联接入,保温状态下的电功率为

拦河坝下宽上窄是什么原理,为什么河堤要下宽上窄(迎战2022年中考物理押题卷-江苏连云港卷)

(4)由题意知,水温达到80℃时衔铁会跳起,则水吸收的热量为

拦河坝下宽上窄是什么原理,为什么河堤要下宽上窄(迎战2022年中考物理押题卷-江苏连云港卷)

动触点与静触点b接触时,为保温电路,工作电路中只有电阻R2 接入,加热状态下消耗的电能为

拦河坝下宽上窄是什么原理,为什么河堤要下宽上窄(迎战2022年中考物理押题卷-江苏连云港卷)

此过程中水吸收的热量及恒温调奶器的加热效率为

拦河坝下宽上窄是什么原理,为什么河堤要下宽上窄(迎战2022年中考物理押题卷-江苏连云港卷)

答:(1)电磁继电器的工作原理:见详解;(2)衔铁刚跳起时,通过电磁铁线圈的电流为0.02A;(3)工作电路在保温状态下的电功率为55W;(4)当调奶器加满温度为25℃的水,加热元件工作500s后衔铁跳起,此过程中水吸收的热量及恒温调奶器的加热效率为84%。

本文关键词:为什么河堤要下宽上窄下宽呢,为什么河堤要下宽上窄打一动物,河堤上窄下宽的原因,江河的河堤总是上窄下宽的原因,为什么河堤要下宽上窄是代表什么生肖。这就是关于《拦河坝下宽上窄是什么原理,为什么河堤要下宽上窄(迎战2022年中考物理押题卷-江苏连云港卷)》的所有内容,希望对您能有所帮助!

本文链接:https://bk.89qw.com/a-696259

最近发表
网站分类