手机版

百科生活 投稿

手势密码怎么设置,手机如何设置手势密码(产品设计:APP手势密码登录)

百科 2026-02-19 15:08:09 投稿 阅读:2380次

关于【手势密码怎么设置】,手机如何设置手势密码,今天小编给您分享一下,如果对您有所帮助别忘了关注本站哦。

  • 内容导航:
  • 1、手势密码怎么设置:手机如何设置手势密码
  • 2、产品设计:APP手势密码登录

1、手势密码怎么设置:手机如何设置手势密码

手机如何设置手势密码呢?下面小编来教大家。

操作方法

首先,我们打开我们的手机,然后我们点击设置;

进入设置后,我们点击安全和隐私;

然后我们点击锁屏和密码;

之后我们点击锁屏密码;

然后我们点击图案密码,之后我们就可以进行手势设置密码了,由于手机禁止截图,所以此处就无法上传图片了。

2、产品设计:APP手势密码登录

  1. 按home键回到手机桌面;
  2. 按手机唤醒/睡眠按钮息屏;
  3. 连按两次home键,打开应用切换器关闭此应用。

在苹果iPhone操作手册中讲述了关于唤醒/解锁的功能,iPhone 会关闭显示屏以节省电量,锁定以进行安全保护,并在闲置时进入睡眠状态。

再次使用 iPhone ,需要唤醒和解锁。当iPhone进入锁定和睡眠状态时,APP也如此。若每次唤醒/解锁APP,都输入账号和密码,非常的不便捷。而指纹登录受设备限制,并非所有的手机都支持指纹识别。

在此情景下,手势密码作为一种基于路径密码解锁技术的便捷身份验证方式,而被需要。在支付类、金融类APP中常常将账户密码、手势密码和指纹密码组合使用。

功能架构分析

手势密码好比一把信息钥匙,用户需要先在APP上绘制密码图案,绘制成功后发送给服务端进行保存。

当用户再次唤醒APP需要身份验证时,通过此次输入的手势密码和服务端存储的密码比对,密码一致则成功登入APP。

除此,有可能用户长时间未用忘记了手势密码或者想修改一下手势密码,APP还需为用户提供操作入口。

综合功能分析,手势密码登录功能架构如下:

手势密码怎么设置,手机如何设置手势密码(产品设计:APP手势密码登录)

业务流程及页面设计

场景1: 用户初次登录客户端

手势密码怎么设置,手机如何设置手势密码(产品设计:APP手势密码登录)

手势密码绘制规则:

  1. 至少连接绘制四个点;
  2. 若两次密码图案不一致的话,需要用户重新绘制密码图案。

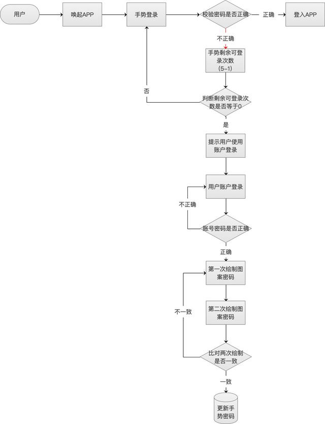
场景2:用户唤醒APP使用手势密码登录

手势密码怎么设置,手机如何设置手势密码(产品设计:APP手势密码登录)手势密码怎么设置,手机如何设置手势密码(产品设计:APP手势密码登录)

为了防止用户对设置的手势记忆模糊,此处给出用户5次尝试机会(其他APP也有设置10次的)。若用户连续5次输错,需要用户进行账户登录并重新绘制手势密码。

手势密码怎么设置,手机如何设置手势密码(产品设计:APP手势密码登录)

若用户忘记了手势密码,底部有处理此情景的操作入口;若用户想登录其他账户,底部可以切换到登录页,供用户用手机号+密码登录。

场景3:修改手势密码

手势密码怎么设置,手机如何设置手势密码(产品设计:APP手势密码登录)

思考:在某些应用中提供手势密码开关,这一设计是否有必要呢?

分析:提供手势密码开关,即提供关闭手势密码登录功能。那关闭手势密码功能是否有必要呢?

手势密码设计的初衷是为了让登录更简单、更快速、更安全。手势密码,相当于是在账户密码的措施下又增加的一道防护措施。而且它比账户登录方便,又不受设备限制,从操作便捷性和安全性考虑,手势密码设计初期可不设计。若后期用户要求关闭手势密码的呼声比较多的情况,可再做考虑。

(此分析仅代表个人观点,欢迎大家一起探讨。)

参考资料

  • iPhone操作手册
  • 苹果开发者网站

来自作者:文中若有纰漏之处,还请不吝指正,欢迎一起交流学习。

本文关键词:手机设置手势密码怎么设置,怎样给手机设置手势密码,手机如何设置手势密码解锁,手机如何设置手势密码锁屏,怎么给手机软件设置手势密码。这就是关于《手势密码怎么设置,手机如何设置手势密码(产品设计:APP手势密码登录)》的所有内容,希望对您能有所帮助!

本文链接:https://bk.89qw.com/a-736067

最近发表
网站分类