手机版

百科生活 投稿

卷扬机规格型号有哪些,卷扬机型号及规格(钻机起升系统——钻井绞车)

百科 2026-04-12 10:29:06 投稿 阅读:2154次

关于【卷扬机规格型号有哪些】,卷扬机型号及规格,今天涌涌小编给您分享一下,如果对您有所帮助别忘了关注本站哦。

  • 内容导航:
  • 1、钻机起升系统——钻井绞车
  • 2、卷扬机规格型号有哪些

1、钻机起升系统——钻井绞车

钻井绞车不仅是起升系统设备,而且也是整个钻机的核心部件,是钻机三大工作机组之一。

常用钻机绞车的类型主要有JC-15绞车、JC-15DB绞车、JC-30绞车、JC-32绞车、JC-40绞车、JC-45绞车、JC-50绞车、JC-70绞车。

一 钻井绞车的功用与结构

1.钻井绞车的功用

(1)用以起下钻具、下套管;

(2)钻进过程中控制钻压,送进钻具;

(3)借助猫头上、卸钻具螺纹,起吊重物及进行其他辅助工作;

(4)充当转盘的变速机构或中间传动机构;

(5)整体起放井架。

2.钻井绞车的结构

钻井绞车是一台多职能的起重工作机。尽管各型绞车结构不同,但究其实质,都具有类似的功能机构或部件。绞车一般由以下几部分组成∶

(1)滚筒和滚筒轴总成,这是绞车的核心部件。

(2)制动机构,它包括机械刹车和水刹车(或电磁刹车)。

(3)猫头和猫头轴总成,用以上卸扣、起吊重物;有的重型钻机绞车还包括捞砂滚筒(用以提取岩心筒)。

(4)传动系统引人并分配动力和传递运动,对于内变速绞车除传动轴、滚筒轴、猫头轴外,还包括链条、齿轮、轴系零件及转盘中间传动轴等。

(5)控制系统包括牙嵌式、齿式、气动离合器、司钻控制台、控制阀件等。

(6)润滑系统包括黄油润滑、滴油润滑和密封传动时的飞溅或强制润滑。

(7)支撑系统有焊接的框架式支架或密闭箱壳式座架。

二 绞车的类型与规格

1. 绞车的类型

绞车种类繁多,习惯上有多种分类方法。如按轴数分有单轴、双轴、三轴及多轴绞车;按滚筒数目分有单滚筒和多滚筒绞车;按提升速度数分有2速、3速、4速、6速和8速绞车。

最能体现绞车结构特点的是它的传动方案。下面按绞车轴数介绍各类绞车的特点。

1)单轴绞车

C-1500单轴绞车如图4-7所示,这类绞车的特点是∶

卷扬机规格型号有哪些,卷扬机型号及规格(钻机起升系统——钻井绞车)

(1)猫头直接装在滚筒两端,滚筒安装在轴上;

(2)绞车外变速,C-1500绞车另有一齿轮变速箱,其结构简单,移运方便。但使用猫头不方便,且滚筒高挡不能独立安排,影响起下钻速度。

2)双轴绞车

ZJ15D双轴绞车传动示意如图4-8所示,由滚筒轴外加一猫头轴组成。仍为绞车外变速,猫头轴的转速通过滚筒轴转换而来,比单轴绞车方便。

卷扬机规格型号有哪些,卷扬机型号及规格(钻机起升系统——钻井绞车)

3)三轴绞车

图4-9为大庆130-Ⅱ钻机的三轴绞车,其传动方案特点是∶多加了一根引入动力的传动轴,绞车用链条变速传动,并兼顾转盘。取消了外带的变速箱,但绞车本身变得复杂了,重达20t,运输相对困难。

卷扬机规格型号有哪些,卷扬机型号及规格(钻机起升系统——钻井绞车)

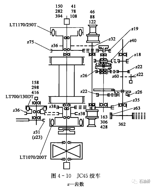
4)多轴绞车

将4轴以上的绞车称多轴绞车。图4-10为ZJ45、ZJ45J钻机用的JC45四轴绞车,内变速,链条传动。由输入轴、中间轴(变速轴)、猫头轴、滚筒轴组成。绞车内齿轮倒车,水刹车装滚筒轴上。

卷扬机规格型号有哪些,卷扬机型号及规格(钻机起升系统——钻井绞车)

5)独立猫头轴—多轴绞车

现代深井、超深井用钻机的钻台越来越高。重达20~30t的绞车,要吊升到4~8m高钻台上是不容易的,且由于钻台与机房高度差越来越大,传递大功率的爬坡链条不能适应要求,于是出现了独立猫头轴—多轴绞车结构,如F320-3DH钻机的绞车(图4-11)。

卷扬机规格型号有哪些,卷扬机型号及规格(钻机起升系统——钻井绞车)

一般是独立猫头轴与转盘传动装置构成一个单元,置于钻台上,因猫头只进行紧卸扣和辅助起重作业,功率小结构简单,重量轻,上钻台容易,而将主滚筒连同链条变速箱组成另一个单元,置于机房底座上,这就大大改善了大功率链传动的工作条件,方便了安装和移运。

6)电驱动绞车

某些电驱动的超深井钻机,利用直流电动机分别驱动滚筒轴和猫头轴,主滚筒和猫头轴均自成独立单元,或将绞车分解为滚筒绞车和猫头绞车(轴上装有捞砂滚筒)两个独立的单元。

前苏联钻深15000m的钻机"乌拉尔15000"电驱动绞车,可由两台电动机直接驱动滚筒轴,也可用一台电动机直接或通过传动比为1及传动比为3的链条箱驱动滚筒轴。绞车最大输人功率为 2646kW。

近年来发展了自升式高钻台,绞车仍可以低位安装,使深井、超深井电驱动钻机仍采用一体式双直流马达驱动的四轴绞车,如ZJ60D钻机绞车(图4-12)。

卷扬机规格型号有哪些,卷扬机型号及规格(钻机起升系统——钻井绞车)

2.绞车的技术规范

钻井绞车已制定有标准,标准绞车的主参数是名义井深,其型号代码如图4-13所示。基本参数见表4-2。

卷扬机规格型号有哪些,卷扬机型号及规格(钻机起升系统——钻井绞车)

卷扬机规格型号有哪些,卷扬机型号及规格(钻机起升系统——钻井绞车)

三 常用钻井绞车及其组成

1.JC-15 绞车

JC-15绞车为墙板式、全密闭双轴绞车,通过变速箱换挡可使绞车获得不同的转速(3正+1倒),采用LT600/250T型通风式气胎离合器,通过司钻控制台可控制滚筒的动力传递,为带式刹车机构,链条采用强制润滑。该型绞车主要由绞车底座、滚筒轴总成、猫头轴总成、绞车直角传动箱、转盘直角传动箱、主刹车机构、防碰天车装置、气控回路、润滑系统等组成。

2.JC-15DB 绞车

JC-15DB绞车为内变速、墙板式、全密闭三轴绞车,换挡为气胎离合器换挡,链条采用强制润滑,滚筒高、低速分别采用LT1600/250T、LT700/250T气胎离合器,通过司钻控制房内的操作阀即可控制滚筒高、低速,主刹车为液压盘式刹车装置。内变速可使绞车获得二个挡、转盘一个挡。该型绞车主要由绞车架、输入轴总成、猫头轴总成、滚筒轴总成、主刹车机构、防碰天车装置、气控系统和润滑系统等部件组成。

3.JC-30 绞车

JC-30绞车为墙板式、全密闭双轴绞车,通过变速箱换挡可使绞车获得不同的转速(4正+1倒),主刹为带式刹车机构,辅助刹车为风冷式电磁涡流刹车,设有刹车鼓循环水冷却水套,滚筒采用LT900/250T通风式气胎离合器,通过司钻控制台上的操作阀就可控制滚筒的施工作业,链条采用强制润滑。该型绞车主要由绞车架、滚筒轴总成、猫头轴总成、主刹车机构、防碰天车装置、气控系统和润滑系统等部件组成。

4.JC-32绞车

JC-32绞车为内变速、墙板式、全密闭四轴绞车,换挡为机械式换挡,链条采用强制润滑,滚筒高、低速分别采用LT1070/200T、LT1070/200T通风式气胎离合器,通过司钻控制台上的操作阀即可控制滚筒高、低速,主刹车为带式刹车机构,辅助刹车为风冷式电磁涡流刹车,设有刹车鼓循环水冷却水套,内变速可使绞车和转盘分别获得6正+2倒的转速。该型绞车主要由绞车架、滚筒轴总成、猫头轴总成、中间轴总成、输入轴总成、主刹车机构、辅助刹车、转盘中间轴总成、防碰天车装置、气控系统和润滑系统等部件组成。

5.JC-40B绞车

JC-40B绞车为内变速、墙板式、全密闭三轴绞车,绞车低位安装,换挡为气动换挡,链条采用强制润滑,滚筒高、低速分别采用LT1070/200T、LT1070/200T通风式气胎离合器,通过司钻控制房内的操作阀即可控制滚筒高、低速,内变速可使绞车和转盘分别获得不同的转速(6 正+2倒),主刹车为液压盘式刹车,设有循环水冷却水套,辅助刹车为风冷式电磁涡流刹车。该型绞车主要由绞车架、滚筒轴总成、输人轴总成、中间轴总成、主刹车机构、辅助刹车、防碰天车装置、自动送钻装置、气控系统和润滑系统等部件组成。

6.C-40DB绞车

JC-40DB绞车为内变速、墙板式、全密闭四轴绞车,换挡为机械式和气胎离合器换挡两种方式,链条采用强制润滑,滚筒高、低速分别采用LT1070/200T、LT1070/200T通风式气胎离合器,通过司钻控制房内的操作阀即可控制滚筒高、低速,主刹车为液压盘式刹车,辅助刹车为风冷式电磁涡流刹车,设有循环水冷却水套,内变速可使绞车获得4正+4倒的转速。该型绞车主要由绞车架、滚筒轴总成、捞砂滚筒轴总成、输入轴总成、中间轴总成、转盘驱动箱、翻转箱、主刹车机构、辅助刹车、防碰天车装置、气控系统和润滑系统等部件组成。

7.JC-45 绞车

JC-45绞车为内变速、墙板式、全密闭四轴绞车,换挡为机械式换挡,链条采用强制润滑,滚筒高、低速分别采用LT1070/200T、LT1070/250T通风式气胎离合器,通过司钻控制台上的操作阀即可控制滚筒高、低速,主刹车为带式刹车机构,辅助刹车为风冷式电磁涡流刹车,设有刹车鼓循环水冷却水套,内变速可使绞车和转盘分别获得6正+2倒的转速。该型绞车主要由绞车架、滚筒轴总成、猫头轴总成、中间轴总成、输人轴总成、主刹车机构、辅助刹车、转盘中间轴总成、防碰天车装置、气控系统和润滑系统等部件组成。

8.JC-50 绞车

JC-50绞车为内变速、墙板式、全密闭三轴绞车,绞车低位安装,换挡为气动换挡,,链条采用强制润滑,滚筒高、低速分别采用LT1070/200T、LT1170/250T通风式气胎离合器,通过司钻控制房内的操作阀即可控制滚筒高、低速,内变速可使绞车获得4正+2倒的转速,主刹车为液压盘式刹车,设有循环水冷却水套,辅助刹车为风冷式电磁涡流刹车。主要由绞车架、滚筒轴总成、输人轴总成、中间轴总成、主刹车机构、辅助刹车、防碰天车装置、转盘角传动箱、气控系统和润滑系统等部件组成。

9.JC-50D 绞车

JC-50D绞车为内变速、墙板式、全密闭四轴绞车,换挡为机械式和气胎离合器换挡两种方式,链条采用强制润滑,滚筒高、低速分别采用LT1070/200T、LT1170/250T通风式气胎离合器,通过司钻控制房内的操作阀即可控制滚筒高、低速,主刹车为液压盘式刹车,辅助刹车为伊顿盘式刹车,设有循环水冷却水套,内变速可使绞车获得4正+4倒的转速。该型绞车主要由绞车架、滚筒轴总成、捞砂滚筒轴总成(含两侧猫头轴)、传动轴总成、输入轴总成、转盘驱动箱、翻转箱、主刹车机构、辅助刹车、防碰天车装置、电气控系统和润滑系统等部件组成。

10.JC-70 绞车

JC-70绞车为内变速、墙板式、全密闭三轴绞车,绞车低位安装,换挡为气动换挡,链条采用强制润滑,滚筒高、低速分别采用LT965/305T、LT1168/305T通风式气胎离合器,通过司钻控制房内的操作阀即可控制滚筒高、低速,内变速可使绞车获得4正+2倒的转速,主刹车为液压盘式刹车,设有循环水冷却水套,辅助刹车为水冷式电磁涡流刹车。主要由绞车架、滚筒轴总成、输入轴总成、中间轴总成、主刹车机构、辅助刹车、防碰天车装置、转盘角传动箱、气控系统和润滑系统等部件组成。

11.JC-70D绞车

JC-70D绞车为内变速、墙板式、全密闭单轴绞车,换挡为气胎离合器换挡,链条采用强制润滑,滚筒高、低速分别采用LT965/305T、LT1168/305T通风式气胎离合器,通过司钻控制房内的操作阀即可控制滚筒高、低速,主刹车为液压盘式刹车,辅助刹车为伊顿盘式刹车,设有循环水冷却水套,内变速可使绞车获得4正+4倒的转速。该型绞车主要由绞车架、滚筒轴总成、传动箱、转盘驱动箱、主刹车机构、辅助刹车、防碰天车装置、电气控系统和润滑系统等部件组成。

四 绞车的刹车机构

绞车的刹车机构包括主刹车机构和辅助刹车机构,主刹车用于各种刹车制动,辅助刹车仅用于下钻时将钻柱刹慢,吸收下钻能量,使钻柱匀速下放。

1.绞车的主刹车

目前,石油钻井绞车的主刹车机构分为机械式带式刹车和液压盘式刹车两大类。

其主要功用是∶正常钻进时,控制滚筒转动,以调节钻压,送进钻具;下钻、下套管时刹慢或刹住滚筒,控制下放速度,悬持钻具。主刹车应具有安全可靠、灵活省力和寿命长的特点。

1)机械带式刹车

机械式刹车机构主要由控制部分(刹把)、传动部分(传动杠杆或刹车曲轴)、制动部分(刹带、刹车毂)、辅助部分(平衡梁和调整螺钉)、刹车气缸等组成,如图4-14所示。

卷扬机规格型号有哪些,卷扬机型号及规格(钻机起升系统——钻井绞车)

两根刹带完全相同,一般为6mm厚的圆形钢带。其两端分别铆接活端吊耳,内壁衬有用石棉改性树脂材料压制而成的刹车块。刹车块用沉头铜螺钉固定在钢带上,沉头铜螺钉沉入深度一般为16mm。因此,当刹车块磨损16mm 时,必须更换。

对刹把施加压力时,刹把轴上的主动拐通过连杆带动被动拐一起转动,通过双杠杆作用将施加压力变大,作用在两根刹带的活端,使两刹带紧紧围抱在刹车毂上,此时,刹车块与刹车毂之间因摩擦产生力矩而刹住转动的滚筒。

扳动气刹开关手柄可启动刹车气缸。气刹车比较省力。平衡梁是用来均衡左、右刹带的松紧程度,以保证受力均匀。通过调整螺钉连接到调整套、弹簧、凸凹垫,弹簧缓冲了刹车时生产的冲击力。凸凹垫的优点是∶当两端刹带偏磨而使平衡梁倾斜时,刹带的拉力仍能同拉杆保持同心,防止螺栓弯曲,当刹块磨损使刹带与刹车毂初始间隙增大导致刹把的刹止角度过低时,可通过调整螺钉调整到合适的初始间隙,保证钻进时送钻平稳均匀。

2)液压盘式刹车

液压盘式刹车由刹车盘、开式刹车钳(工作钳)、闭式刹车钳(安全钳)、钳架、液压动力源、控制系统等组成,主要包括液压控制部分和液压制动钳两部分。液压控制部分由液压泵站和操纵台组成,液压泵站由油箱、吸油滤油器、两台电动柱塞泵、管线、蓄能器等阀件组成。液压制动钳包括安全钳和工作钳。

图4-15所示,液压盘式刹车,可分为常开型杠杆钳液压加压式、常闭型杠杆钳弹簧加压式、常开型固定钳液压加压式、常闭型固定钳弹簧加压式等四类。

卷扬机规格型号有哪些,卷扬机型号及规格(钻机起升系统——钻井绞车)

刹车装置总成由钳架、刹车盘、刹车钳等组成。刹车盘通过滚筒轮缘与滚筒组装成一体,刹车钳安装在钳架上,它是盘式刹车实现刹车的主要部件,如图4-16所示。

卷扬机规格型号有哪些,卷扬机型号及规格(钻机起升系统——钻井绞车)

刹车盘是直径为1500~1650mm、厚为65~75mm带有冷却水道的圆环,其内径与滚筒轮缘配合,装配成一体。刹车盘环形侧表面与刹车钳上的刹车块构成摩擦副,实现绞车的刹车,如图4-17所示。刹车盘按结构形式分为水冷式、风冷式和实心刹车盘三种。水冷式刹车盘内部设有水冷通道,在刹车盘内径处设有进、出水口;外径处设有放水口,用来放尽通道内的水,以防止寒冷气候时刹车盘冻裂;正常工作时,放水口用螺塞封住。风冷式刹车盘内部有自然通风道,靠自然通风道和表面散热。实心刹车盘靠表面散热,主要用于修井机和小型钻机。

卷扬机规格型号有哪些,卷扬机型号及规格(钻机起升系统——钻井绞车)

2.绞车的辅助刹车

辅助刹车的功用是帮助主刹车进行下钻,在下钻时通过制动滚筒轴来制动下钻载荷。过去钻机的辅助刹车多为水刹车。目前,水刹车已逐渐被电磁刹车和伊顿盘式刹车所取代,下面主要介绍电磁涡流刹车和伊顿盘式辅助刹车。

1)电磁涡流刹车

电磁涡流刹车可分为感应式电磁刹车(又称为涡流刹车)和磁粉式电磁刹车。目前钻机中应用的几乎全是电磁涡流刹车。

电磁涡流刹车相当于一种简化了的发电机,主要由刹车主体(定子、转子)、可控硅整流装置(整流变压器和可控硅半控桥式整流电路)及司钻开关(可调的差动变压器、铁芯、线圈、调节机构等部件)三部分组成,如图4-18所示。定子中嵌有励磁线圈和冷却水出人口,转子与滚筒连接在一起旋转。

卷扬机规格型号有哪些,卷扬机型号及规格(钻机起升系统——钻井绞车)

当刹车工作时,在它的激磁线圈内通入直流电流,于是在转子与定子之间便有了磁通相连,使转子处在磁场闭合回路中,随着转子与定子的相对运动,转子各点上的磁通便处于不断重复的变化之中,转子上便产生感应电势,在感应电势的作用下,转子产生涡流,涡流与定子磁场相互作用产生电磁力,这个力对转子轴心形成的转矩称为电磁转矩,也就是电磁涡流刹车阻止滚筒旋转的制动扭矩,作用过程中产生的热量通过冷却水(或通风)将热量带走。司钻通过调节开关手柄的位置,便可调节磁极电流的大小,改变制动扭矩的大小,达到控制钻具下放速度的目的。

2)伊顿盘式辅助刹车

美国伊顿公司生产的WCB系列水冷却盘式刹车,是目前比较理想的辅助刹车,它特别适用于大转动惯量的制动以及快速散热。WCB刹车可以安装在轴的中间,也可以安装在轴的末端。坚固的结构可以确保其长时间无故障运行。

伊顿刹车主要由安装法兰组件(左定子)、气缸(右定子)、静、动摩擦盘、复位弹簧、活塞、齿轮转子等组成。

当来自钻机气控制系统的压缩空气从气缸上的进气孔进入到气缸后,推动活塞向左移动,活塞推动压紧盘移动,压紧盘克服弹簧力向左移动,将动摩擦盘压紧,从而产生制动力矩。当切断气缸进气孔处的压缩空气时,压紧盘在弹簧的作用下向右移动,推动活塞复位,同时动摩擦盘脱离两个静摩擦盘,使得盘式刹车处于非工作状态。

3.防碰天车装置

防碰天车装置的作用是当游车系统上到限定位置时,通过限位装置作用,紧急刹车,使游动系统停止上升,防止碰天车,确保安全。大部分钻机的防碰装置采用双保险系统。一种是安装在井架上段限制游车上升位置的钢丝绳防碰装置,另一种是绞车防碰过卷阀装置,这些不同的装置联合使用,确保了钻井过程的安全。

过卷阀安装在滚筒上方,可沿轴向左右调整,过卷阀拨杆的长度依游车上升到极限高度时钢丝绳在滚筒上的缠绳量来调整(游车上升至距天车梁下平面19.68~23ft 处)。当游车上升处于极限高度时,快绳触碰拨杆,滚筒离合器放气,盘刹闭式钳进行紧急刹车,将滚筒刹死。

————END————

2、卷扬机规格型号有哪些

卷扬机规格型号有哪些

卷扬机一般按照起重量分类,如500公斤、3吨、5吨等等

卷扬机常用钢丝绳品种有磷化涂层钢丝绳、镀锌钢丝绳、不锈钢丝绳或涂塑钢丝绳,大气环境中使用,专利技术生产的锰系磷化涂层钢丝绳使用寿命最长,重腐蚀环境优选热镀锌—磷化双涂层钢丝绳。

专利技术生产的磷化涂层钢丝绳,优先采用锰系或锌锰系磷化,与光面钢丝绳生产工艺对比,只是增加了最后的耐磨磷化处理工序,制绳钢丝的耐磨性和耐蚀性大幅度提高,使用磷化以后钢丝不经过冷拉直接捻制钢丝绳。目前疲劳试验数据表明,磷化涂层钢丝绳疲劳寿命是同结构光面钢丝绳的3-4倍左右(试验室可比条件下),最高的已经达四倍,随着对耐磨磷化配方的研究,还有大幅度提升的可能性。锰系磷化就是耐磨磷化,可以解决钢丝绳使用过程中的磨损问题,仅供参考

请问卷扬机设备的用途有哪些?

卷扬机分JK(快速)卷扬机,JM(慢速)卷扬机,慢速卷扬机主要用于物料升降和大型吊装工程中作卷扬、拉卸、拖曳重物,适用于各种大中型结构及机械设备的安装和拆卸,适用于建筑安装公司、矿区及工厂的土木建筑工程。电动卷扬机由电动机、联轴节、制动器、齿轮箱和卷筒组成,共同安装在机架上。对于起升高度和装卸量大,工作繁忙的情况下,要求调速性能好,特别要空钩能快速下降。对安装就位或敏感的物料,要能以微动速度下降。卷扬机快速卷扬机又叫绞车由人力或机械动力驱动卷筒,卷扬机型号|直径|长度|功率卷绕绳索来完成牵引工作的装置。垂直提升、水平或倾斜曳引重物的简单起重机械。卷杨机有JK1,JK3,JK5,JK8,JK10五种规格,快速卷扬机该机主要用于建筑、铁路、公路、厂矿、港口、桥梁、安装作垂直提升、水平及斜坡拖拉重物等工况使用。目前市场上流通吨位为:1-25T,根据其用途不同,卷扬机的叫法也不同,一般称为:电动卷扬机,手动卷扬机,建筑卷扬机,变频卷扬机,调速卷扬机,非标卷扬机等.卷扬机特点是通用性高、结构紧凑、体积小、重量轻、起重大、使用转移方便。适用范围广泛应用于建筑、水利工程、林业、矿山、码头等的物料升降或平拖,还可作现代化电控自动作业线的配套设备。

2T卷扬机技术参数sh08是什么,谢谢?

2T卷扬机用卷筒缠绕钢丝绳或链条提升或牵引重物的轻小型起重设备,又称绞车。卷扬机可以垂直提升、水平或倾斜拽引重物。2T卷扬机分为快速卷扬机和慢速卷扬机两种。常用的以慢速卷扬机为主。

标准慢速2T卷扬机额定速度16.5米/分钟,电机功率7.5KWsh08

标准快速2T卷扬机额定速度25米/分钟,采用15KW电机

2T卷扬机可单独使用,也可作起重、筑路中煤和矿井提升等机械中的组成部件,因操作简单、绕绳量大、移置方便而广泛应用。

2T卷扬机技术参数

型号: JM2、JK2;

额定拉力KN:20、20;

平均绳速m/min:16、24;

容绳量m:100、110;

钢丝绳直径:ф13、ф13;

电机型号:Y160M-6、Y132M-4;

电机功率KW:7.5、7.5;

外形尺寸mm:940*900*570、940*900*570。

本文关键词:卷扬机选型,卷扬机技术参数,卷扬机规格型号有哪些,卷扬机规格型号参数,卷扬机型号及规格。这就是关于《卷扬机规格型号有哪些,卷扬机型号及规格(钻机起升系统——钻井绞车)》的所有内容,希望对您能有所帮助!

本文链接:https://bk.89qw.com/a-760720

最近发表
网站分类