手机版

百科生活 投稿

什么是减压阀组,减压阀组大样图(消防水系统知识)

百科 2025-10-19 23:38:38 投稿 阅读:523次

关于【什么是减压阀组】,减压阀组大样图,今天小编给您分享一下,如果对您有所帮助别忘了关注本站哦。

  • 内容导航:
  • 1、消防水系统知识
  • 2、什么是减压阀组
  • 3、减压阀组区分冷热水吗
  • 4、减压阀组能否立式安装

1、消防水系统知识

消防水系统分类:

手动水灭火系统:室外消火栓系统;室内消火栓系统;消防枪灭火系统;消防炮灭火系统。

另:灭火器(在一般消防设计中,灭火器多数与消火栓箱一起配置)

自动喷水灭火系统:

闭式系统:湿式自动喷水灭火系统;干式自动喷水灭火系统;干湿式自动喷水灭火系统;预作用自动喷水灭火系统;自动喷水—泡沫联用灭火系统;重复启闭预作用灭火系统;大空间消防炮自动灭火系统。

开式自动喷水灭火系统:雨淋系统;泡沫雨淋系统;水幕系统;水喷雾系统;细水雾系统。

室外消火栓系统:

室外消火栓系统:

1)市政管网双路供水:

什么是减压阀组,减压阀组大样图(消防水系统知识)

2)加压泵供水:

什么是减压阀组,减压阀组大样图(消防水系统知识)

室外消火栓系统需要设加压泵的原因:只有一路市政供水或其他原因导致供水管少于两根的。

3)系统构成:市政进水管;水池;泵组;泵组前后组件(控制阀、绕性接头、过滤器等);控制检修阀(阀门井、阀门套筒);室外消火栓(地上式、地下式、井);管道(球墨铸铁管、镀锌钢管等)。

4)消防车取水口

室内消火栓系统:

1)市政管网供水

什么是减压阀组,减压阀组大样图(消防水系统知识)

2)加压泵供水

什么是减压阀组,减压阀组大样图(消防水系统知识)

3)系统构成

市政进水管;水池;泵组;泵组前后组件(控制阀、绕性接头、过滤器等);控制检修阀(闸阀、蝶阀等);减压阀组;消火栓箱(自救卷盘、屋顶试验消火栓);水泵接合器;稳压系统(稳压泵、气压罐);屋顶高位水池;管道;其他(单向阀、自动排气阀等)。

喷淋系统:

1)市政管网供水

什么是减压阀组,减压阀组大样图(消防水系统知识)

2)加压泵供水

什么是减压阀组,减压阀组大样图(消防水系统知识)

3)系统构成:

市政进水管;水池;泵组;泵组前后组件(控制阀、绕性接头、过滤器等);控制检修阀(闸阀、信号阀等);减压阀组;湿式报警阀组;水流指示器;喷头;末端试水装置、试水阀;水泵接合器;稳压系统(稳压泵、气压罐);屋顶高位水池;管道;其他(单向阀、自动排气阀、泄水阀、减压孔板等)。

水喷雾系统:

什么是减压阀组,减压阀组大样图(消防水系统知识)

1)保护方式(立体保护、平面保护)

什么是减压阀组,减压阀组大样图(消防水系统知识)

 什么是减压阀组,减压阀组大样图(消防水系统知识)

2) 系统构成

水池;泵组;泵组前后组件(控制阀、绕性接头、过滤器等);控制检修阀(闸阀、信号阀等);减压阀组;过滤器;雨淋阀组;水雾喷头;试验阀;水泵接合器;屋顶高位水池;管道。

雨淋系统:

什么是减压阀组,减压阀组大样图(消防水系统知识)

系统构成:水池;泵组;泵组前后组件(控制阀、绕性接头、过滤器等);控制检修阀(闸阀、信号阀等);减压阀组;过滤器;雨淋阀组;开式喷头;试验阀;水泵接合器;屋顶高位水池;管道。

水幕系统:

什么是减压阀组,减压阀组大样图(消防水系统知识)

系统构成:水池;泵组;泵组前后组件(控制阀、绕性接头、过滤器等);控制检修阀(闸阀、信号阀等);减压阀组;过滤器;雨淋阀组;开式喷头或水幕喷头;试验阀;水泵接合器;屋顶高位水池;管道。

预作用自动喷水灭火系统:

概述:预作用系统是将火灾自动探测报警技术和自动喷水灭火系统结合起来,在系统中安装闭式洒水喷头。在未发生火灾时该系统管道内通常充有低压空气或氮气以供监测,故系统具有干式系统的特点。因此它适用于安装在那些既需用水灭火但又绝对不允许发生火灾跑水的地方。例如:图书馆、档案室、贵重物品储藏室、电脑机房等处。还可替代干式系统安装在高温严寒冰冻等地区。

什么是减压阀组,减压阀组大样图(消防水系统知识)

工作原理:预作用系统预作用阀是由雨淋阀和湿式报警阀上下串接而成,雨淋阀位于供水侧,湿式报警阀位于系统侧而成为预作用阀组。系统由预作用阀、水力警铃、压力开关、空压机、空气维护装置、信号碟阀等组成,安装闭式洒水喷头,并以常用的探测系统作为报警和启动的装置。其动作原理:一旦发生火灾,安装在保护区感温感烟火灾探测器发出火灾报等信号。火灾报警控制器或消防控制中心,接到报警信号后发出指令打开雨淋阀上电磁阀,使雨淋阀开启,压力水流进系统侧管网,变成湿式喷水系统,同时水力警铃发出报告,压力开关动作反馈给控制中心显示管路已充水,并启动消防泵。此时管道上安装闭式洒水喷头尚未释放,不会喷水。人尚可主动地经主管人员采取适当行动将火扑灭,避免喷头动作水渍造成的损失。如果火灾控制不住继续发展,致使闭式喷头玻璃球动作喷水,水泵自动启动。

火灾扑灭后,应将电磁阀关闭,使雨淋阀关闭,并排除管中的水使系统充气压力保持在0.03MPa范围内,恢复准工作状态。

泡沫—喷淋联用系统:

什么是减压阀组,减压阀组大样图(消防水系统知识)

包含喷淋系统所有组件,除此之外,增加泡沫供给系统:泡沫液罐;泡沫液控制阀;比例混合器;泡沫液管道。

什么是减压阀组,减压阀组大样图(消防水系统知识)

其他灭火系统:

大空间消防炮自动灭火系统;干式自动喷水灭火系统;预作用自动喷水灭火系统。

什么是减压阀组,减压阀组大样图(消防水系统知识)

消防水系统管道:

1、管道材质:

什么是减压阀组,减压阀组大样图(消防水系统知识)

2、管道配件

什么是减压阀组,减压阀组大样图(消防水系统知识)

3、管道连接方式:

螺纹连接(丝扣连接);沟槽连接;焊接连接;法兰连接;承插连接;热熔连接。

除了设计特别说明外,规范规定:消火栓系统中,镀锌钢管管径小于DN100的管道采用螺纹连接,管径大于等于DN100的管道采用沟槽连接或法兰连接。自动喷水灭火系统中,镀锌钢管管径小于DN100的管道采用螺纹连接,管径大于等于DN100的管道采用沟槽连接或法兰连接。

报警阀前管道焊接及埋地球墨铸铁管承插连接;特别说明几种法兰的连接。

螺纹连接(丝扣连接):

什么是减压阀组,减压阀组大样图(消防水系统知识)

1、断管:根据现场测绘草图,在选好的管材上画线,按线断管。

2、套丝:将断好的管材,按管径尺寸分次套制丝扣,一般以管径15-32mm者套丝2次,40-50mm者套丝3次,70mm以上者套丝3-4次为宜。

3、配装管件:配装管件时应将所需管件带入管丝扣,试试松紧度(一般用手带入3扣为宜),在丝扣处涂铅油、缠麻后带入管件,然后用管钳将管件拧紧,使丝扣外露2-3扣,去掉麻头,擦净铅油。

什么是减压阀组,减压阀组大样图(消防水系统知识)

4、管道支吊架

材质(角钢、镀锌螺纹钢):吊架,承重支架,防晃支架。

什么是减压阀组,减压阀组大样图(消防水系统知识)

5、管道安装

明装管道:支吊架规格、位置;管件使用计算;管道、支吊架刷漆;穿墙、板套管。

什么是减压阀组,减压阀组大样图(消防水系统知识)

埋地管道:挖沟、填沙;管道防锈防腐;管道基座、连接处固定;管沟回填。

什么是减压阀组,减压阀组大样图(消防水系统知识)

消防水系统组件:

1、消防水池

什么是减压阀组,减压阀组大样图(消防水系统知识)

2、消防高位水箱:

1)常用水箱:混凝土浇筑水箱,玻璃钢水箱,不锈钢水箱等。

2)与安装有关的部件:

防水套管预埋;供水管(生活水泵送水);液位计(提供报警信号);通气管;溢流管;排空管。

3、消防加压水泵:图集:04S204

1)消防水泵分类:

按驱动方式分:柴油机泵、电动机泵;

按基础类型分:立式泵,卧式泵;

按结构级数分:单级泵,多级泵;

按出口数量分:单出口泵,多出口泵。

什么是减压阀组,减压阀组大样图(消防水系统知识)

2)消防水泵相关参数:扬程,流量,功率;进出口直径,转速。

什么是减压阀组,减压阀组大样图(消防水系统知识)

3)消防水泵相关组件:

水泵基础;水泵吸水口组件:吸水喇叭口;控制阀;过滤器;绕性接头;偏心大小头;压力表。

什么是减压阀组,减压阀组大样图(消防水系统知识)

4、消防稳压系统:图集:98S205

消防稳压系统一般由稳压泵组(一用一备)和气压罐组成。其中稳压泵组的组件与加压泵基本相同(少试水阀)。电接点压力表的作用。

什么是减压阀组,减压阀组大样图(消防水系统知识)

5、减压阀组

减压阀组一般包含组件:减压阀、前后检修阀、前后压力表、过滤器等。

减压阀分类:比例式减压阀、可调式减压阀。

6、水泵接合器: 图集:99S203

水泵接合器的分类:

按安装型式分:墙壁式、地上式、地下式;

按组成结构分:分开式、一体式。

水泵接合器的设置位置:

水泵接合器的组成:接口本体、止回阀、安全阀、闸阀。

什么是减压阀组,减压阀组大样图(消防水系统知识)

7、室外消火栓:图集:01S201。

室外消火栓的分类:地上式、地下式;

室外消火栓的组成:内置出水阀、泄水装置、栓体;

室外消火栓的设置位置:消防车取水口;阀门井;阀门套筒。

8、室内消火栓:图集:04S202

1)室内消火栓箱的种类很多,常见的分类有:

按栓头数量分:单栓型、双栓型(单阀、双阀双出口);

按栓头出口分:普通型、减压稳压型。

是、否带自救卷盘;是、否组合灭火器箱。

2)室内消火栓箱的组成:

箱体、门框、面板、栓头、水带、水枪、自救卷盘、启泵按钮、灭火器。

什么是减压阀组,减压阀组大样图(消防水系统知识)

3)室内消火栓箱的主要参数:

箱体、门框、面板的材质、厚度、尺寸水带、卷盘的材质、直径、长度栓头材质、水枪直径、按钮类型。

4)灭火器:

分类:手提式、推车式;

药剂:泡沫、干粉、CO2;

水、卤代烷、专用灭火器。

什么是减压阀组,减压阀组大样图(消防水系统知识)

9、湿式报警阀组

湿式报警阀组的主要组件:

信号阀;湿式报警阀;延时器;压力开关;水力警铃;阀前后压力表;泄水阀;试验阀;其他组件。

什么是减压阀组,减压阀组大样图(消防水系统知识)

10、雨淋报警阀组

雨淋阀分类:隔膜式、杠杆式。

雨淋报警阀组的主要组件:雨淋阀前|后信号阀;雨淋阀;应急站(手动开启阀);压力表;水力警铃;压力开关;电磁阀;试验放水阀;泄水阀;滴水阀;其他组件。

什么是减压阀组,减压阀组大样图(消防水系统知识)

启动方式:电动启动、传动管启动。

11、水流指示器

水流指示器分类:马鞍式;焊接式;法兰式;卡箍式;沟槽式;丝扣式;对夹式。

什么是减压阀组,减压阀组大样图(消防水系统知识)

水流指示器组件:叶片;微动开关;连接体。

什么是减压阀组,减压阀组大样图(消防水系统知识)

12、喷头:

1)闭式喷头:

按喷水方向分类:直立型;下垂型(吊顶装饰型);边墙型(水平型、直立型)。

按感温元件分类:玻璃泡感温型;易熔合金感温型;

按响应速度分类:标准响应型;快速响应型;快速响应早期抑制型(ESFR)。

什么是减压阀组,减压阀组大样图(消防水系统知识)

按流量系数分类:

普通流量型(K=40、80);大流量型(K=114);超大流量型(K=160、201、242、363)。

按是否隐蔽分类:普通吊顶型;隐蔽型。

按动作温度分类:

玻璃泡:57℃、68℃、79℃、93℃、141 ℃、182 ℃、204℃ 。

易熔合金:57℃、60℃、71℃、72℃、74 ℃、100 ℃、138 ℃、141 ℃。

什么是减压阀组,减压阀组大样图(消防水系统知识)

2)非闭式喷头:

开式喷头(用于雨淋、水幕系统);

水幕喷头(水平型、下垂型、檐口型);

水雾喷头(离心式、撞击式);

细水雾喷头;大空间大流量喷头。

什么是减压阀组,减压阀组大样图(消防水系统知识)

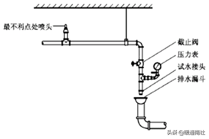
13、末端试水装置及试水阀

1)末端试水装置的组成:

压力表;截止阀;试水接头;泄水漏斗。

2)试水阀的组成:压力表;截止阀。

3)末端试水装置及试水阀的设置位置:

什么是减压阀组,减压阀组大样图(消防水系统知识)

14、各种阀门

阀门的分类形式很多。

带电信号:信号蝶阀、信号闸阀;

电信号控制:电磁阀、电动阀;

用于控制检修:明杆闸阀、蝶阀;

用于试验或放水:截止阀、球阀;

阀门的工作压力:1.0MPa、1.6MPa、2.5MPa;

阀门的连接方式:螺纹、焊接、法兰、对夹、沟槽。

安全阀、止回阀、浮球阀、减压阀。

什么是减压阀组,减压阀组大样图(消防水系统知识)

常用消防设施图例:

1、消防水系统

什么是减压阀组,减压阀组大样图(消防水系统知识)

2、火灾自动报警系统

什么是减压阀组,减压阀组大样图(消防水系统知识)

消火栓系统示意分类图集:

什么是减压阀组,减压阀组大样图(消防水系统知识)

什么是减压阀组,减压阀组大样图(消防水系统知识)

什么是减压阀组,减压阀组大样图(消防水系统知识)

什么是减压阀组,减压阀组大样图(消防水系统知识)

本文来源于互联网,暖通南社整理编辑。

2、什么是减压阀组

减压阀组减压阀组用于高炉煤气管道系统上,作调节管路介质压力的设备。用途、作用1. 截断: 主要用于截断或接通介质流。

包括闸阀、截止阀、隔膜阀、旋塞阀、球阀、蝶阀等。

2. 调节: 主要用于调节介质的流量、压力等。包括调节阀、节流阀、减压阀等。3. 止回: 用于阻止介质倒流。包括各种结构的止回阀。

4. 分流: 用于分配、分离或混合介质。包括各种结构的分配阀和疏水阀等。5. 安全: 用于超压安全保护。

包括各种类型的安全阀。由多个配件组成的一组控制配件一般由-----可调式减压阀、压力表、铜阀门、Y型过滤器、橡胶软接头、弹簧压力表、压力表气门、压力表弯管 组成。

3、减压阀组区分冷热水吗

热水型减压阀与冷水减压阀的区别在于其密封圈、密封垫及隔膜片等采用耐温材料,在高温下的使用寿命相对较长。同层冷、热水用水压力基本一致,有利于保证用水点的混合水的水温稳定,在设计时应注意,从节能的角度出发,统筹兼顾热水系统和冷水系统的供水方式,冷水系统减压方式可依据热水系统选取。

尽量使同层冷热水系统的供水压力容易保持一致。

在一般情况下,选用可调式减压阀调整压力,使热水压力与同层冷水的压力差控制在±0.05MPa之内。

4、减压阀组能否立式安装

可以。减压阀是通过调节,将进口压力减至某一需要的出口压力,并依靠介质本身的能量,使出口压力自动保持稳定的阀门。

从流体力学的观点看,减压阀是一个局部阻力可以变化的节流元件,即通过改变节流面积,使流速及流体的动能改变,造成不同的压力损失,从而达到减压的目的。

然后依靠控制与调节系统的调节,使阀后压力的波动与弹簧力相平衡,使阀后压力在一定的误差范围内保持恒定。性能类别:(1)调压范围:它是指减压阀输出压力P2的可调范围,在此范围内要求达到规定的精度。调压范围主要与调压弹簧的刚度有关。(2)压力特性:它是指流量g为定值时,因输入压力波动而引起输出压力波动的特性。

输出压力波动越小,减压阀的特性越好。输出压力必须低于输入压力—定值才基本上不随输入压力变化而变化。(3)流量特性:它是指输入压力—定时,输出压力随输出流量g的变化而变化的持性。

当流量g发生变化时,输出压力的变化越小越好。一般输出压力越低,它随输出流量的变化波动就越小。它可将阀前管路较高的液体压力减少至阀后管路所需的水平。

这里的传输介质主要是水。减压阀广泛用于高层建筑、城市给水管网水压过高的区域、矿井及其他场合,以保证给水系统中各用水点获得适当的服务水压和流量。鉴于水的漏失率和浪费程度几乎同给水系统的水压大小成正比,因此减压阀具有改善系统运行工况和潜在节水作用,据统计其节水效果约为30%。

减压阀的构造类型很多,以往常见的有薄膜式、内弹簧活塞式等。减压阀的基本作用原理是靠阀内流道对水流的局部阻力降低水压。

本文关键词:减压阀组的标准安装详图,减压阀解释,减压阀组工作原理,减压阀组的组成,减压阀组安装图。这就是关于《什么是减压阀组,减压阀组大样图(消防水系统知识)》的所有内容,希望对您能有所帮助!

本文链接:https://bk.89qw.com/a-767296

最近发表
网站分类