手机版

百科生活 投稿

漏电保护器跳闸原因及解决方法,漏电保护器跳闸有几个方面的原因(原因不外乎这几个)

百科 2026-02-10 12:45:34 投稿 阅读:1990次

关于【漏电保护器跳闸原因及解决方法】,漏电保护器跳闸有几个方面的原因,今天小编给您分享一下,如果对您有所帮助别忘了关注本站哦。

  • 内容导航:
  • 1、漏电保护器跳闸原因及解决方法:漏电开关跳闸?原因不外乎这几个,别花钱找电工了,自己也能解决
  • 2、漏电保护器跳闸原因及解决方法,漏电保护器跳闸有几个方面的原因

1、漏电保护器跳闸原因及解决方法:漏电开关跳闸?原因不外乎这几个,别花钱找电工了,自己也能解决

昨天晚上,站长路过小区楼下的五金店,发现有一位女业主找老板购买漏电开关,询问之下,她说家里的漏电开关总是跳闸,她误以为是漏电开关坏了,于是打算重新买一个断路器,顺道找电工师傅帮忙维修。

站长听到后也很诧异,想不到有这么多人不知道如何处理插座回路器跳闸的问题。其实,插座回路开关跳闸的原因不外乎几个,自己也能进行排查和动手解决,为了让大家少花冤枉钱,今天站长就给大家聊聊吧!

漏电保护器跳闸原因及解决方法,漏电保护器跳闸有几个方面的原因(原因不外乎这几个)

插座回路开关,只是配电箱中的支路开关,通常是漏电保护开关。

插座回路开关跳闸,原因如下:

原因一:过载

所谓过载,意思就是“电流过载”,意思是电流太大,超过了断路器的范围,所以触发了断路器的过载保护,形成跳闸。断路器判断线路是否过载,是依据线路中的热量来判断的,所以也会出现一种情况——电流虽然不大,但热量达到了,触发断路器跳闸。

漏电保护器跳闸原因及解决方法,漏电保护器跳闸有几个方面的原因(原因不外乎这几个)

因为过载而跳闸的断路器,在过载的期间是无法合闸的,需要过一段时间,等热量降低才能合闸。

电路过载的原因和解决方法:

1.如果是电流太大,例如家里长时间使用大功率电器,多种电器同时使用。解决时,只要适当减少电器的使用就行了。

2.接线柱松动、虚接,也会导致局部温度升高,从而触发断路器过载保护。解决时,只要把接线柱负载端重新拧紧就行。

漏电保护器跳闸原因及解决方法,漏电保护器跳闸有几个方面的原因(原因不外乎这几个)

3.断路器选型错误,意思是,跳闸的断路器型号、电线粗细不匹配,例如插座回路的选型小于16A,导致断路器无法承载超过16A的电流。

漏电保护器跳闸原因及解决方法,漏电保护器跳闸有几个方面的原因(原因不外乎这几个)

原因二:短路

短路,意思是零线与火线接触,电流没有通过任何电器。短路和过载十分相似,都是表现为断路器跳闸,但我们可以通过以下方法来区分是过载还是短路:合闸后立刻跳闸就是短路,合闸后,过了一会儿才跳闸,或者无规律跳闸,就是短路。

短路的原因和解决方法:

1.线路短路,断路器上的电线接头一般都是由绝缘胶布包裹好,然后接在接线柱上,但有一些多芯导体,可能会有很多毛刺没有被包裹严密,露出的电线毛刺互相接触,就会形成线路短路。解决时,只要重新把电线毛刺扭成一股,不要外露,然后包裹好接在接线柱上就行了。

漏电保护器跳闸原因及解决方法,漏电保护器跳闸有几个方面的原因(原因不外乎这几个)

2.如果不是线路短路,最大可能就是电器内部短路(拔掉电器插头后,断路器不跳闸)。解决这个问题,可能就需要拆开电器进行维修了。

原因三:漏电

插座回路开关一般都是用漏电保护开关,也只有这种开关才具有漏电保护功能。

跳闸后,我们可以看看断路器的外观,如果表面上的复位按钮突出,就证明是漏电引起的跳闸(复位按钮没有突出,跳闸就是因为过载和短路)。

漏电保护器跳闸原因及解决方法,漏电保护器跳闸有几个方面的原因(原因不外乎这几个)

漏电的原因和解决方法:

1.线路漏电,电线的绝缘层哪怕有一丁点的破损,都会引起漏电。这种情况,只能找专业工具进行排查,如果没有,那就只能逐个电线接头拆掉,然后每拆一个合闸一次进行排查。要解决线路漏电,只能找到漏电的线路,然后用新的电线进行更换。

漏电保护器跳闸原因及解决方法,漏电保护器跳闸有几个方面的原因(原因不外乎这几个)

2.电器漏电,这种情况是最为常见的,毕竟电线埋在墙里,一般不会出现破损。拔掉电器插头,如果没有跳闸,证明故障是因为电器内部漏电,解决这种问题,只需要对漏电的电器进行维修就行了。

漏电保护器跳闸原因及解决方法,漏电保护器跳闸有几个方面的原因(原因不外乎这几个)

总的来说,断路器跳闸的情况看似复杂,但其实问题离不开这么几个,只要能找到原因,解决起来都不困难。如果各位家里面出现这种情况,先别急着找电工师傅维修,说不定自己动手就能解决,大家学会了吗?

我是装修第一站的站长超哥,装修水深,愿带你乘风破浪~

2、漏电保护器跳闸原因及解决方法,漏电保护器跳闸有几个方面的原因

漏电保护器俗称漏电开关,是用于在电路或电器绝缘受损发生对地短路时防人身触电和电气火灾的保护电器,一般安装于每户配电箱的插座回路上和全楼总配电箱的电源进线上,后者专用于防电气火灾。漏电保护器是对我们的生活是非常帮助的也是电力系统中必不可少的一个武器,但是有时候漏电保护器也经常出现问题,那么你是否知道漏电保护器跳闸是怎么回事呢,下面就由贵州一路一带电力集团旗下金能建设电力工程给大家分享一些关于排查和解决漏电保护器跳闸的问题,希望能帮助到大家。

漏电保护器不同于断路器和隔离开关。断路器除了有分合电路功能外,还具有短路保护功能。隔离开关只有分合电路功能。漏电保护器除了分合电路功能,并有短路保护功能外,还具有漏电保护功能(漏电电流在30mA——500mA不等)。

建筑供配电系统多采用TN—C—S系统。一般设置两级漏电保护开关。第一级设置在电源进户处的总开关处,即电源进户处的总开关选用漏电电流值为300mA——500mA的4级(L1、L2、L3 和 N 线) 的漏电开关; 第二级设置在用户开关箱中的插座回路(悬挂式空调回路允许不设置漏电开关),选用漏电电流值为30mA的2级(L1或L2或L3和N线)的漏电开关。从而防止了用电人员触电事故的发生及提高了建筑供配电系统安全运行的可靠性。

漏电保护开关故障跳闸后,万万不可将漏电保护开关的漏电流检测环节摘掉。应根据故障跳闸现象,分析故障跳闸原因,找出解决故障方法。漏电开关故障跳闸现象大致有6种:

第1种,用电设备本身绝缘损坏,导致用电时发生漏电开关故障跳闸现象;

第2种,线路潮湿绝缘强度降低,导致非用电时漏电开关故障跳闸现象;

第3种,人身意外触电,导致漏电开关故障跳闸现象;

第4、5、6种,施工安装时接线不正确,导致用电时发生漏电开关故障跳闸现象。

详细分析如下↓↓↓

第1种:用电设备本身绝缘损坏而漏电(设备中的N线与PE线短接)。如图1所示。

故障现象:插座回路用电时,插座回路漏电开关跳闸。

故障原因:经分析线路接线正确无误,故判断为用电设备本身绝缘损坏而漏电(设备中的N线与PE线短接) 。

解决方法:更换或维修用电设备。

第2种:线路潮湿绝缘强度降低。如图1所示。

故障现象:不用电时,也出现AL1中的总漏电开关或插座回路漏电开关跳闸。

故障原因:经分析,线路潮湿绝缘强度降低,导致漏电流超过了漏电开关允许漏电流值。也可能因线路短路所致。

解决方法:烘干线路,提高绝缘强度。检查线路若是短路所致,排除短路故障。

第3种:有人触电,出现AL1中的总漏电开关或插座回路漏电开关跳闸。如图1所示。

漏电保护器跳闸原因及解决方法,漏电保护器跳闸有几个方面的原因(原因不外乎这几个)

故障现象:AL1中的总漏电开关或插座回路漏电开关跳闸。

故障原因:有人触电。

解决方法:加强全民用电安全教育,避免触电事故发生。

第4种:施工安装时接线不正确,照明回路中将N线接到PE线上了。如图2所示。

漏电保护器跳闸原因及解决方法,漏电保护器跳闸有几个方面的原因(原因不外乎这几个)

故障现象:插座回路能正常用电,照明回路用电时,AL1中的总漏电开关跳闸。

故障原因: 经分析, 施工安装时线路接线有误, 不正确。 将照明回路中的N线误接到PE线上了。

解决方法:将照明回路中的PE线改接到N线上。

第5种:施工安装时接线不正确,插座盒中的N线与PE线接错了。如图3所示。

漏电保护器跳闸原因及解决方法,漏电保护器跳闸有几个方面的原因(原因不外乎这几个)

故障现象:照明回路能正常用电,插座回路用电时,ALY中的插座漏电开关跳闸,有时AL1中的总漏电开关也跳闸。

故障原因:经分析,施工安装时线路接线有误,不正确。将插座盒中的N线与PE线接错了。

解决方法:将插座盒中的N线与PE线对调。

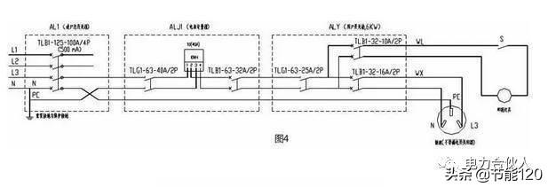
第6种:施工安装时接线不正确,在AL1箱中N线与PE线用混了。如图4所示。

漏电保护器跳闸原因及解决方法,漏电保护器跳闸有几个方面的原因(原因不外乎这几个)

故障现象:插座回路或照明回路用电时,AL1中的总漏电开关都跳闸。

故障原因:经分析,施工安装时线路接线有误,不正确。将 AL1箱中N线与PE线用混了。

解决方法:在 AL1箱的总漏电开关负荷端,将N线与PE线对调。

本文关键词:热水器漏电保护器跳闸原因及解决方法,漏电保护器跳闸原因及解决方法,家用漏电保护器跳闸原因及解决方法,380v漏电保护器跳闸原因及解决方法,三相四线漏电保护器跳闸原因及解决方法。这就是关于《漏电保护器跳闸原因及解决方法,漏电保护器跳闸有几个方面的原因(原因不外乎这几个)》的所有内容,希望对您能有所帮助!

本文链接:https://bk.89qw.com/a-836514

最近发表
网站分类