百科生活 投稿
关于【正投影是什么】,今天涌涌小编给您分享一下,如果对您有所帮助别忘了关注本站哦。
- 内容导航:
- 1、正投影是什么:制图投影原理和三視圖
- 2、正投影是什么,正投影解释
1、正投影是什么:制图投影原理和三視圖
1.投影的基本原理
1).中心投影法:光源是从投射中心发出。
2).平行投影法:投影中心在无穷远﹐投影线看作平行﹐由此在投影面上作出投影。
2.视图
1)基本视图﹕
用正投影法在投影面上所得到的投影图称为正投影图﹐简称视图﹐在正投影图中﹐只有一个视图还不能完整地表达物体形状和大小﹐实际生产中为了能根据影图来确定物体的确切形状和大小﹐必须从不同的投影方向向几个投影面投影﹐得到几个视图﹐它们是主视图﹑左视图﹑右视图﹑俯视图﹑仰视图及后视图。这几个视图综合起来﹐就能将物体表达清楚﹐生产中常用三视图。
2)斜视图
当零件的表面与投影面倾斜时,附加一与零件表面平行的辅助投影面并进行投影所得的视图叫斜视图
3)局部视图
将零件的某一部分向基本投影面投影所的视图称局部视图
识别局部视图和斜视图时注意:
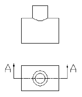
a 找带字母的箭头,看清所示范部位及投影方向,然后找对应相同字母的视图“ X 向”
b 通常视图是放在箭头所指的方向,特殊情况下也可放在其它位置.
c 局部视图按投影位置放置,中间又没有其它视图隔开时,可省战略标注.
d 局部视图应用波浪线表示所示部位的范围.当所示部位有封闭的轮廓线时,则不必再用波浪线.
e 看斜视图时应注意,投影方向是斜的.若视图转正位置则在斜视图上方标有“旋转”二字.
4) 旋转视图
当零件的倾斜部分具有明显的回转轴线时,可假想将该倾斜部分旋转到与命某一选定的基本投影面平行 后再向该投影面投影.
3.剖视图
当零件内部结构比较复杂时﹐视图上会出现大量的虚线﹐影响视图的清晰。假想用剖切面剖开零件,将处于观察者剖切面之间部分移去后投影﹐当某个视图作剖视图时﹐其他各视图不受影响﹐仍应完整画出﹐剖视图的完整标注包括﹕剖切符号﹑箭头﹑剖视图名称。剖切符号用来表达剖切面平面所在的位置﹐箭头表示零件剖切后的投影方向﹐在视图的下方﹐用与写在剖切符号边上相同的大写字母﹐水平书写其名称“X-X”。
1)全剖:用剖切平面完全地剖开所得的剖视图.
2)半剖视图
用于表达物体有对称平面的外形与内部结构(以对称线分界)
3)局部剖视图
用于表达物体局部内形并保留物体的大部分外形(局部的剖切)
4)阶梯剖切
几个平行面剖切面,阶梯剖切法(标注)
5)局部放大图
4.剖面图
1)移出剖面:
移出剖面配置在机件的视图之外﹐其轮廓用粗实线绘制。
2)重合剖面:
用于表达物体局部结构的断面形状
5.规定画法及简化画法
1.重复式结构的画法
1)当机件具有若干相同结构(如齿﹑槽)并按一定规律分布时﹐只需画出几个完整的结构﹐其余用细实线连接﹐但必须注明该结构的总数﹔
2)若干直径相同并按规律分布的孔﹑管道等﹐可以仅画出一个或几个﹐其余只需表明其中心位置。
2.筋板和轮辐
对于零件的筋和轮辐,如按纵向剖切,则这些结构不画剖面符号,而用粗实线把它与相邻部分放开,如横向剖切则仍要画上剖面线.
3.均匀分布的结构
在圆周上有均匀分布的孔,肋等结构不论剖面是否把它们剖切到,都按剖切到的画出.
4.零件上的滚花部分图示网纹细线表示零件在该台阶圆上应全部滚花
5.对称零件的视图可简化的画一半,键槽局部可简画为右图所示
6.较长零件的断开
7.一些细部结构的画法
1)机件上的小平面图形中不能充分表达时﹐可用平面符号表示
2)非圆曲线的过渡线及相贯线允许简化为圆弧或直线
3)机件上的小圆角﹑倒角可省略不画而代之以标注或说明
4)机件上环面小圆角可斜度不大结构上的圆角可按无圆角处理
2、正投影是什么,正投影解释
正投影是什么?正投影是指平行投射线垂直于投影面由一点放射的投射线所产生的投影称为中心投影,由相互平行的投射线所产生的投影称为平行投影平行投射线倾斜于投影面的称为斜投影物体在灯光或日光的照射下会产生影子,而且影子与物体本身的形状有一定的几何关系,这是一种自然现象,人们将这一自然现象加以科学的抽象,得出投影法则,并广泛用于艺术和工程制图之中,我来为大家科普一下关于正投影是什么?下面希望有你要的答案,我们一起来看看吧!

正投影是什么
正投影是指平行投射线垂直于投影面。由一点放射的投射线所产生的投影称为中心投影,由相互平行的投射线所产生的投影称为平行投影。平行投射线倾斜于投影面的称为斜投影。物体在灯光或日光的照射下会产生影子,而且影子与物体本身的形状有一定的几何关系,这是一种自然现象,人们将这一自然现象加以科学的抽象,得出投影法则,并广泛用于艺术和工程制图之中。
当直线或平面图形垂直于投影面时,它们在该投影面上的投影积聚成一点或一直线,这种投影特性称为积聚性。
本文关键词:正投影是什么视图,正投影是什么投影的一种,正投影是什么,正投影是什么面,直角三角形正投影是什么。这就是关于《正投影是什么,制图投影原理和三視圖》的所有内容,希望对您能有所帮助!
- 最近发表