手机版

百科生活 投稿

桩身强度检测抽样,桩的检测之动测法

百科 2026-02-11 07:36:28 投稿 阅读:8411次

关于【桩身强度检测抽样】,桩的检测之动测法,今天小编给您分享一下,如果对您有所帮助别忘了关注本站哦。

动测法,又称动力无损检测法,是检测桩基承载力及桩身质量的一项新技术,作为静载试验的补充。

动测法是相对静载试验法而言,它是对桩土体系进行适当的简化处理,建立起数学-力学模型,借助于现代电子技术与量测设备采集桩-土体系在给定的动荷载作用下所产生的振动参数,结合实际桩土条件进行计算,所得结果与相应的静载试验结果进行对比,在积累一定数量的动静试验对比结果的基础上,找出两者之间的某种相关关系,并以此作为标准来确定桩基承载力。另外,可应用波动理论,根据波在混凝土介质内的传播速度,传播时间和反射情况,用来检验、判定桩身是否存在断裂、夹层、颈缩、空洞等质量缺陷。

一般静载试验可直观地反映桩的承载力和混凝土的浇筑质量,数据可靠。但试验装置复杂笨重,装、卸、操作费工费时,成本高,测试数量有限,并且易破坏桩基。动测法试验,则仪器轻便灵活,检测快速;单桩试验时间,仅为静载试验的1/50左右;可大大缩短试验时间;数量多,不破坏桩基,相对也较准确,可进行普查;费用低,单桩测试费约为静载试验的1/30左右,可节省静载试验锚桩、堆载、设备运输、吊装焊接等大量人力、物力。

1.承载力检验

单桩承载力的动测方法种类较多,国内有代表性的方法有:动力参数法、锤击贯入法、水电效应法、共振法、机械阻抗法、波动方程法等,常用的有以下两种。

(1)动力参数法

动力参数法是用锤击法测定桩的自振频率或同时测定桩的频率和初速度,用以换算桩基的各种设计参数。对承压桩,可用竖向频率换算抗压刚度及承载力。

(2)频率法

频率法除通过锤击实测桩基竖向自振频率fv外,尚应通过施工记录和地质报告或试验取得桩和土的可靠原始数据。桩数据包括:桩全长、入土深度、桩径或横截面、桩材密度及施工中异常情况的记录;土层数据(主要是桩尖以上L/3范围内土层数据)包括:地质剖面图及柱状图、地下水位、各土层厚度Hi、土名、粘性土的状态或砂土的密实度、内摩擦角、密度及桩尖处支撑土层的性状等。再通过计算求单桩抗压刚度、临界荷载和允许承载力。

(3)频率初速法

用上述频率法进行桩基动测计算时,必须有准确的地质土工原始资料,如果难以求得准确的地质资料,可在敲击桩头后同时将频率和初速度测定出来,如此,参加振动的桩和土的折算重即可计算出来,然后再用以换算桩基的其他参数。

现场测试所需仪器与频率法基本相同,但宜用弹片式拾振器,且必须用带导杆的穿心锤冲击桩头。

本法测试要求较频率法为高,但可节省勘探和土工试验的时间和费用,并可排除地质土工资料的误差对动测精度带来的影响,较频率法更为经济有效,适用范围更为广泛。

(4)测试仪器设备及方法

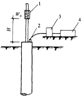
承压桩的测试主要仪器设备有拾振器(传感器)、数字式接收和处理系统(或有源低通滤波器和示波器、信号分析仪)、激振物(铁锤或带导杆的穿心锤)等,常用两种测试仪器设备装置和方法如图-1和图-2 。

桩身强度检测抽样,桩的检测之动测法

图-1 承压桩动测现场布置

1-穿心锤;2-弹片拾振器;3-滤波器;4-示波器(后两种仪器宜以数字式仪器代替)

桩身强度检测抽样,桩的检测之动测法

图-2 测试仪器及方法简图

1-测试桩;2-传感器;3-放大器;4-程序监视器;5-波形显示器;6-信号分析仪;7-手锤

测试的过程和方法一般为:

1)将拾振器固定在抹平后的桩顶上,并与数字式接收和处理系统(或滤波器和示波器)相串联;

2)敲击桩顶中心激起桩基竖向振动,与此同时,开动仪器,记录由拾振器传来经过滤波后的振动讯号。

测试时间,预制桩应待被拢动土层的强度基本恢复之后,对砂土3d左右;粘性土7d以上;灌筑桩应待混凝土达到设计强度之后。当用砂浆抹平桩头时,尚需待砂浆硬结后始可测试。

(5)锤击贯入法

系用一定重量的自由落锤,通过不同的落距对桩顶施加瞬时锤击力,用动态应变仪测出桩顶锤击力F(t)max,用百分表测出相应的桩顶贯入度e。根据实测的F(t)和相应的累计贯入度关系曲线与同一桩的静荷载试验曲线之间的相似性,通过桩的静、动对比试验结果的相关分析,求出桩的极限承载力。

1)测试设备与仪表装置

测试装置主要由锤击装置、测量装置和电源及记录装置等部分组成。

锤击装置一般用0.6~2.0t重的落锤,并配以吊车和导架。

测量装置由百分表和锤击力传感器组成。百分表用来测量桩顶贯入度。锤击力传感器用来测定桩顶锤击力,使用前需在压力机上进行静标定,并绘制标定曲线。锤击力传感器上下设法兰盘(下图),可分别用螺栓与桩上垫木和桩帽连接。

桩身强度检测抽样,桩的检测之动测法

图: 锤击力传感器

(a)用于帽上;(b)用于垫木上

1-法兰盘;2-盖板;3-插座;4-电阻片;5-弹性元件;6-防水胶片

2)测试方法

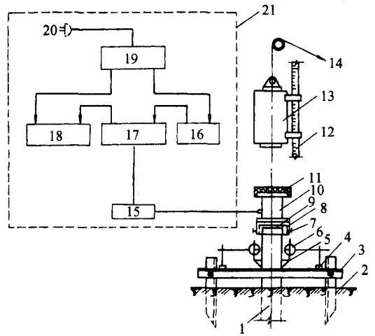
①单桩锤击贯入测试设备的安装和试验仪器的连接如图。

桩身强度检测抽样,桩的检测之动测法

图: 锤击贯入试桩设备安装

1-试桩;2-标桩;3-基准架;4-磁性表座;5-测量标点;6-百分表;

7-紧固螺栓;8-桩帽;9-桩垫;10-锤击力传感器;11-锤垫;

12-导杆;13-落锤;14-卷扬机;15-电桥盒;16-电源供给;

17-动态应变仪;18-光电示波器;19-稳压器;20-交流电源;21-工作室

②电源及记录仪器都集中放在距试桩5~15m处,使视线无障碍,避免日晒雨淋。全部接通线路并进行预热、调平和标定操作。

③对于灌筑桩,需按一定的要求对试桩桩头进行整平和加固,加固桩头可用较桩身混凝土高1~2级的早强快干混凝土或环氧树脂水泥砂浆,待其达到预定的强度(不应低于C30),方可进行锤贯试验;对于预制桩,桩身竖直,桩头完整,可以直接进行锤贯试验,但要有足够的休止期。

④对各项量测及记录仪器进行一次检验性的调试和标定。在确认各项仪器无问题,方可开始进行锤贯试验。

⑤锤贯试验分级进行,落距按等距离递增(从10cm开始,每次提高10cm,直到100cm),每个落距锤击一次,总的锤击数在10击左右。因此要根据锤的大小及桩土体系条件预估一个合适的落距分级,通常以5、10、15、20cm等分挡。一根桩的锤贯试验最好一气呵成,各次锤击之间的时间间隔要大致相等(约2~3min左右),中间不要停顿太久。

⑥采取每次锤击时桩顶的锤击力波形曲线的最大峰值F(t)max及贯入度e。依次计算各击的累计贯入度Σe,并随时绘出F(t)max-Σe关系曲线。

⑦当桩顶锤击力增加很少而贯入度却继续增大或者突然急剧增大时,试验即可终止。当锤击贯入试验不出现上述情况时,应做到最大试验锤击力不小于设计要求的单桩承载力的三倍,或者单桩贯入度e大于2mm,累计贯入度Σe大于20mm时也可终止。

2.桩身质量检验

在桩基动态无损检测中,国内外广泛使用的方法是应力波反射法,又称低(小)应变法。其原理是根据一维杆件弹性波反射理论(波动理论)采用锤击振动力法检测桩体的完整性,即以波在不同阻抗和不同约束条件下的传播特性来判别桩身质量。本法特点是:受场地约束限制小,测试设备轻便、简单,操作方便,测试速度快,获得的波形规律性较好,判读明了、简捷,便于对工程作大子样抽检等。

(1)测试仪器

用RS-1614测桩测振仪,配用38HZ垂直示波器,或用RSM-12H采集仪(加速计)。

(2)测试方法及判别标准

测试系采用手锤或力杆瞬时冲击桩头,激起振动,产生弹性(应力)波,以声速沿桩长向下传播,到达桩尖后,又向上反射,如果遇波阻抗界面(桩身某截面出现扩颈或缩颈、断裂或夹层等),产生回波反射,由放置在桩头的拾振器,接收锤击初始信号及桩身反射信号,通过数字采集仪记录,并将波形存储在磁盘上。

一般根据测试装在桩顶上的拾振器(加速计),可测得波的最初峰值到桩尖反射峰值之间的时差,和由桩与土的变化产生波的不规则性,经数据的分析整理,可给出以下测试结果:

1)桩身混凝土浇筑质量及完整性,包括缺陷性质、程度与位置;

2)桩身混凝土平均波速及强度范围。

根据桩基动测一般原则,分析检测记录波形,可将桩身混凝土质量分为4类:

I类:桩身完好。检测波形规则,桩底反射清晰、明显,无桩间反射信号,波速正常(较高),此反映混凝土密实均匀;

II类:桩身基本完好。检测波形基本规则波速基本正常;

III类:桩身质量较差。波形不够规则,波速偏低,说明有明显的桩间反射波信号,但其能量较弱,桩有局部的缺陷,或混凝土密实度稍差,如有轻微扩颈、缩颈、离析、蜂窝、局部夹泥等;

IV类:桩身混凝土存在严重缺陷。波形不规则,无桩底反射信号,桩间反射能量较强,波速低,说明桩身有断裂、严重离析、严重缩颈等缺陷。

一般讲,详测给出的I、II类桩可以满足要求;IV类桩无法使用,必须进行处理;III类桩能否满足要求,由设计单位根据工程具体情况作出决定。

由于波速与混凝土强度间存在着明显的统计关系。混凝土强度等级可依据桩体弹性波平均速度,并根据波速混凝土相关关系求得,再根据强度等级与龄期的关系,推算出28d的混凝土强度等级。

本文关键词:桩基强度检测,桩基础桩身质量抽样检验,桩检测抽检数量,桩基检测抽样数量,桩身质量检测方法及标准。这就是关于《桩身强度检测抽样,桩的检测之动测法》的所有内容,希望对您能有所帮助!

本文链接:https://bk.89qw.com/a-844227

最近发表
网站分类