手机版

百科生活 投稿

内六角沉头螺钉,m6内六角沉头螺钉标准样式

百科 2026-03-19 18:41:06 投稿 阅读:4358次

关于【内六角沉头螺钉】,m6内六角沉头螺钉标准样式,今天小编给您分享一下,如果对您有所帮助别忘了关注本站哦。

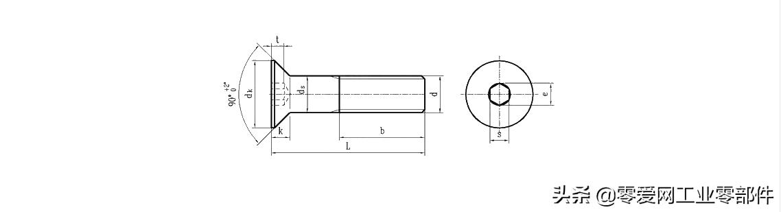
内六角沉头螺栓(螺钉)在不同的场景下有着不同的标准。沉头内六角螺丝也称平杯,沉头内六角螺丝头为圆锥形的,安装之后,螺丝头可以陷入安装面,以保证安装面的平整。内六角沉头螺钉常用于机械上,主要有便于紧固,拆卸,不容易滑角等优势。相对而言,外六角的制造成本要比内六角低得多了,它的优势还有螺头比内六角薄,有的地方不是内六角可以取代的。另外成本低,动力强度小,精度要求低的机械采用的内六角螺丝要比外六角少得多。

下面小编从国标GB、国际ISO、汽标代号Q、德标DIN、美标ASME、英标BS、日标JIS这七个标准下介绍内六角沉头螺栓(螺钉)标准及规格尺寸。

国标GB

GB /T 70.3-2008 内六角沉头螺钉

内六角沉头螺钉,m6内六角沉头螺钉标准样式

内六角沉头螺钉,m6内六角沉头螺钉标准样式

国际ISO

ISO 10642-2004 内六角沉头螺钉

内六角沉头螺钉,m6内六角沉头螺钉标准样式

内六角沉头螺钉,m6内六角沉头螺钉标准样式

汽标代号Q

Q 250-2012 内六角沉头螺钉

内六角沉头螺钉,m6内六角沉头螺钉标准样式

德标DIN

DIN EN ISO 10642-2013 内六角沉头螺钉

内六角沉头螺钉,m6内六角沉头螺钉标准样式

内六角沉头螺钉,m6内六角沉头螺钉标准样式

美标ASME

ASME/AI B 18.3-2003(R2008) 内六角沉头螺钉

ASME/AI B 18.3-2003 内键槽沉头螺钉

ASME/AI B 18.3.5M-1986(R2008) 米制内六角沉头螺钉

英标BS

BS 4168-8-1982 米制内六角沉头螺钉

内六角沉头螺钉,m6内六角沉头螺钉标准样式

BS 2470-1973 统一螺纹内六角沉头螺钉

内六角沉头螺钉,m6内六角沉头螺钉标准样式

日标JIS

JIS B 1194-2006 内六角沉头螺钉

本文关键词:内六角沉头螺钉标准尺寸,内六角沉头螺钉国标,内六角沉头螺钉图片,不锈钢内六角沉头螺钉,内六角沉头螺钉怎么画。这就是关于《内六角沉头螺钉,m6内六角沉头螺钉标准样式》的所有内容,希望对您能有所帮助!

本文链接:https://bk.89qw.com/a-866484

最近发表
网站分类