手机版

百科生活 投稿

cf手游第四章流程图高清,CF生化模式3.0详细内容

百科 2026-02-09 06:09:35 投稿 阅读:5867次

关于【cf手游第四章流程图高清】,今天小编给您分享一下,如果对您有所帮助别忘了关注本站哦。

  • 内容导航:
  • 1、cf手游第四章流程图高清:CF生化模式3.0详细内容,旧图重制,幽灵超级进化
  • 2、cf手游第四章流程图高清,五分钟让你精通cf手游排位赛新地图-潜艇

1、cf手游第四章流程图高清:CF生化模式3.0详细内容,旧图重制,幽灵超级进化

一、设计背景

1. 以往幽灵的进化路线过为单一

2. 以往幽灵死亡降级,玩家感觉受到惩罚

3. 手机机能发展,性能变强

4. 玩家喜欢老地图,又渴望得到新的结构

cf手游第四章流程图高清,CF生化模式3.0详细内容

二、玩法介绍

1.在终结者模式的基础上,引入了宝箱的概念,让人类和僵尸都可以通过拾取宝箱来进行升级。此外,引入了新的大地图,将生化模式的玩家人数提升到了32人。

2. 引入了新的大地图决战赤壁,并且重新装修了老地图生化酒店,增加了可玩性的区域,同时调整了部分交互地形的玩法。

cf手游第四章流程图高清,CF生化模式3.0详细内容

绿色宝箱

cf手游第四章流程图高清,CF生化模式3.0详细内容

蓝色宝箱

cf手游第四章流程图高清,CF生化模式3.0详细内容

红色宝箱

cf手游第四章流程图高清,CF生化模式3.0详细内容

新生化酒店地图

cf手游第四章流程图高清,CF生化模式3.0详细内容

决战赤壁地图

三、 玩法流程

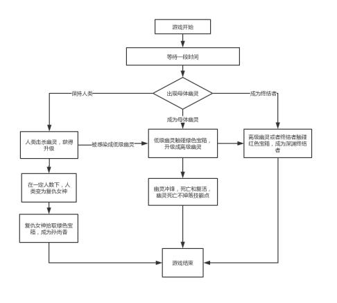
1.流程图:

cf手游第四章流程图高清,CF生化模式3.0详细内容

文字叙述:

1. 玩家进入游戏,在每局开始等待一段时间后,出现一个终结者和若干个母体幽灵;

2. 人类通过击杀幽灵获得升级。幽灵通过感染人类或者拾取绿色宝箱进行升级,且幽灵死亡不会损失升级进度;

3. 在一段时间后,出现红色宝箱,终结者或者高级幽灵拾取宝箱变为深渊终结者;

4. 在人类只剩一定数量后,人类可变为英雄,英雄拾取蓝色宝箱可变为超级英雄。

cf手游第四章流程图高清,CF生化模式3.0详细内容

四、玩法特色

1.增加双方阵营的进化树,使得双方阵营都能够获得新的成长。同时,对各自的特点进行了加强,幽灵增强了破点能力,人类增加了续航和攻击力。

2.32人大地图,增加了单局内玩家的人数。

3.幽灵可以通过拾取补给箱的方式获取升级点,重生的时候并不会减少获取的进化点

4.引入了新幽灵,深渊终结者,并且普通幽灵和终结者都有方法变成深渊终结者。

cf手游第四章流程图高清,CF生化模式3.0详细内容

以上就是《穿越火线》体验服6月28日上线的生化3.0玩法介绍,看完以后大家是否对“生化3.0”有了更近一步的了解了呢?同时正式服预计会在7月份上线“生化3.0”,届时大家不要错过哟!

2、cf手游第四章流程图高清,五分钟让你精通cf手游排位赛新地图-潜艇

你问穿越火线手游这个赛季被骂的最多的地图是啥?

当然是加入排位赛豪华午餐的潜艇啊!

就在大家已经对卫星基地熟悉了所有点位,准备这个赛季跃跃欲试的时候,天美很贴(er)心(bi)的换图了?!

什么鬼?!人与人之间的信任呐?!

cf手游第四章流程图高清,CF生化模式3.0详细内容

天美这么一改了不得了,虽说端游这图早就放排位里了,对于玩过端游的可以说是得心应手。可手游不一样呐,一半人这图是根本是没碰过的。。。

这也造成了以下情况的出现:

  1. 给队友爆点队友根本不知道哪是a,哪是b

  2. 警要拆包的时候遇到会下包的,根本找不到包在哪

  3. 匪rush a或者rush b的时候总是有那么一两个被阴死

  4. 晋级赛最后关键局碰上这破图,对面还是会玩的,得了,您自认倒霉吧。。。。

为了帮助广大cf战友能够早日脱坑,王八君昨天打了一天的潜艇,总结出下列实用技巧(敲黑板)

如图,这是潜艇的地图全貌,咱们以此为蓝本进行讲解。

为了直观方便精准的看出猫腻,咱们画个简图:

cf手游第四章流程图高清,CF生化模式3.0详细内容

如图,80%的路线都是这么走的(隐蔽的位置王八君后面会说)

怎么样,很清楚了吧,匪rush a或b就按这大概走,王八君保证你不迷路。

说完了大致路线,咱们说说那些可以卡的点位。

cf手游第四章流程图高清,CF生化模式3.0详细内容

如图,这是中路的管道,匪从左边的箭头处可以到a,右边的到b,但不建议从这进b,如果一定要进,建议四人扔烟闪强行rush。

cf手游第四章流程图高清,CF生化模式3.0详细内容

看见上图的箭头处了吗,进a的管道这里开了个口子,保卫建议蹲在红圈箱子后面守此点,匪完全可以从这跳下来进左边的a窗

cf手游第四章流程图高清,CF生化模式3.0详细内容

上图的圆圈处是匪才能出来的地方,如果你的枪法不好,就蹲在箭头所指的位置,要注意的是,在这待着就不要乱动了,匪能听到你的脚步,而他蹲在上面你是听不到他的脚步的。还有一点要注意,就是匪从管道出来之前肯定是要扔闪的,这时候直接对着窗口猛扫即可。

cf手游第四章流程图高清,CF生化模式3.0详细内容

如果上张图片的地方有人守了,你狙玩的比较6,那么箱子后面这个位置是你狙人的不二之选。匪要去a肯定是走箭头的方向,一把巴雷特蹲在这再好不过了。

cf手游第四章流程图高清,CF生化模式3.0详细内容

这个是a区下包点,包最好的放置位置就是红圈处,要知道,这辆车的中间空裆是空气墙,子弹无法穿透。按完包以后往箭头方向撤,别漏头,等拆包声响起的时候出去骚扰即可。

好,说完了a点位,咱们来说说b点位。b点位相对来说不易攻入,因为警可以蹲点的位置有些多

cf手游第四章流程图高清,CF生化模式3.0详细内容

当匪进b的时候一定要注意上图的红圈处,这是现在绝大多数人会蹲的位置,正确的应对方法是静步走上面的台子,一般情况下警是发现不了的

cf手游第四章流程图高清,CF生化模式3.0详细内容

在b按完包以后,匪选择守的位置如上图所示,具体守点位自己决定。

cf手游第四章流程图高清,CF生化模式3.0详细内容

如图,这是匪走b的必经之路,警建议在此位置双卡,不要架狙在这骚扰,这是匪该干的事,匪要做的就是从中路绕过去,摸警屁股,要么闪光冲进去。

cf手游第四章流程图高清,CF生化模式3.0详细内容

最后王八君要说的就是这个点,一般在匪剩下一两个的时候会用到这招,蹲在机器后头,等警跑出来扫点,这也是一个小的翻盘点,翻盘几率在35%左右,具体情况视枪法而定。

最后,还是送大家一句话:单排有风险,组队需谨慎。

。。。。。。我是分割线。。。。。。

本文关键词:cf手游第四章第二场比赛,cf手游第四幕,cf手游第四章剧情参考图,cf手游第五章流程图,cfm第四章。这就是关于《cf手游第四章流程图高清,CF生化模式3.0详细内容》的所有内容,希望对您能有所帮助!

本文链接:https://bk.89qw.com/a-871131

最近发表
网站分类