手机版

百科生活 投稿

手机不支持陀螺仪如何强制开,苹果手机不支持开陀螺仪怎么办

百科 2025-12-29 01:19:56 投稿 阅读:9762次

关于【手机不支持陀螺仪如何强制开】,苹果手机不支持开陀螺仪怎么办,今天小编给您分享一下,如果对您有所帮助别忘了关注本站哦。

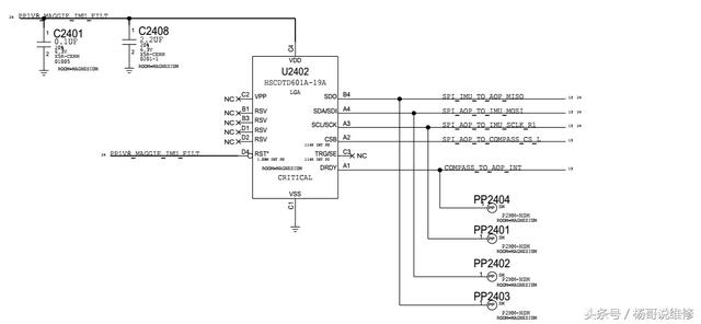
苹果7陀螺仪芯片为U2404,气压传感器芯片为U2403,指南针芯片为U2402。如果三个芯片同时失灵,说明它们的公共电路出现问题,这三个芯片都有哪些公共电路呢?

我们一起来看看图纸。

手机不支持陀螺仪如何强制开,苹果手机不支持开陀螺仪怎么办

手机不支持陀螺仪如何强制开,苹果手机不支持开陀螺仪怎么办

手机不支持陀螺仪如何强制开,苹果手机不支持开陀螺仪怎么办

1公共供电PP1V8 MAGGIE IMU由主电源U1801的v3脚输出,可以在R2422、R2404处测量。

手机不支持陀螺仪如何强制开,苹果手机不支持开陀螺仪怎么办

手机不支持陀螺仪如何强制开,苹果手机不支持开陀螺仪怎么办

2公共SPI总线:

SPI AOP TO IMU SCLK SPI总线时钟信号

SPI AOP TO IMU MUSI SPI总线数据信号输入

SPI IMU TO AOP MISO SPI总线数据信号输出

了解了工作原理,维修思路也就出来了。

1检查1.8v供电,看看是否正常,如果不正常,重点检查电源输出电路。

2如果1.8v电压正常,重点查,SPI接口电路,方法是测量对地阻值。如果有一路阻值不正常,就可能是cpu虚焊或损坏,或者是主板断线。

3如果测量SPI总线接口正常,还有有一种情况存在,就是三个芯片中的其中一个芯片本身损坏,也有可能造成是全部芯片失效。(根据三个芯片的这种关系,也可以推理出,如果单个功能不能用,一定不是芯片本身损坏,而是其周边电路故障。)

本文关键词:手机不支持陀螺仪如何强制开的软件,手机不支持陀螺仪如何强制开启,强制开陀螺仪的软件,华为手机不支持陀螺仪如何强制开,手机不支持陀螺仪如何强制开红米9A。这就是关于《手机不支持陀螺仪如何强制开,苹果手机不支持开陀螺仪怎么办》的所有内容,希望对您能有所帮助!

本文链接:https://bk.89qw.com/a-879970

最近发表
网站分类